|
| Til bund | | Forside |
Miljøprojekt nr. 984, 2005
Teknologiudviklingsprogrammet for jord- og grundvandsforurening
Stimuleret in situ reduktiv deklorering. Vidensopsamling og screening af lokaliteter.
Appendiksrapport
Indholdsfortegnelse
Appendiks A Litteratur database
Appendiks B Udvalgte case studier med bioaugmentation
Appendiks C Lokalitets- og feltundersøgelser
Appendiks D Feltmetoder
Appendiks E Risikoforhold
Appendiks F Screening af lokaliteter
- Appendiks F.1 Nørregade 4, Assens
- Appendiks F.2 Adelgade 138, Bogense
- Appendiks F.3 Dalumvej 22-28, Odense
- Appendiks F.4 Dalumvej 34B, Odense
- Appendiks F.5 Dalumvej 62, Odense
- Appendiks F.6 Middelfartvej 126, Odense
- Appendiks F.7 Sanderumvej 113, Odense
- Appendiks F.8 Rønnevej 13-15 Næsby
- Appendiks F.9 Rugårdsvej 166, Odense
- Appendiks F.10 Rugårdsvej 234 - 238, Odense
- Appendiks F.11 Sortebrovej 26, Tommerup
- Appendiks F.12 Bogensevej 39, Grønnemose, Årup
- Appendiks F.13 Industrivirksomhed, Svendborg
Appendiks G Erfaringer fra Holland
Appendiks A Litteratur database
Appendiks A1 Oversigt over litteratur vedr. laboratorieforsøg
Dette appendiks giver en skematisk oversigt over relevant litteratur om laboratorieundersøgelser. De væsentligste artikler er markeret med gult.
Klik her for at se tabellerne.
Appendiks A2 Oversigt over litteratur vedr. feltundersøgelser
Dette appendiks giver en skematisk oversigt over den mest relevante litteratur om feltforsøg. De væsentligste artikler er markeret med gult.
Klik her for at se tabellerne.
Appendiks B Udvalgte case studier med bioaugmentation
Dover Air Force Base, Dover Delaware
Ellis et al. (2000) presented a field-scale demonstration of in situ bioaugmentation for treating dissolved phase TCE at Dover Air Force Base. Comprehensive microcosm studies were performed prior to
system design to assess the need for bioaugmentation. The microcosm studies described by Lee et al. (2000). used site soil and groundwater amended with various electron donors including: organic acids
such as acetate, benzoate, butyrate, formate, lactate, and propionate; alcohols such as ethanol and methanol; sugars, including sucrose, glucose, and fructose; complex organics such as molasses or yeast
extract; other compounds including vitamin B12; ethylene glycol and glutamic acid. Sulfate and bicarbonate were added as electron acceptors in addition to the nitrate, sulfate, iron, and bicarbonate already
present in the groundwater and soil. Many trea™ents were amended with nutrients, vitamins, or trace elements and/or yeast extract. In all, over 1000 individual microcosms were tested during this phase of
the study. TCE was reduced to vinyl chloride in only a few microcosm bottles after incubation of up to 500 days. Ethene was not produced in any bottles, even under methanogenic conditions. If
Dehalococcoides spp. were more widely distributed at this site, then a greater percentage of these microcosms should have converted TCE beyond cis-DCE. Additional treatability studies were performed
using Dover soil and groundwater to assess biostimulation performance in aquifer columns (Harkness et al. 1999). TCE was not reduced beyond cis-DCE in columns that had been fed electron donors for
up to 371 days. However, injection into one column of a small volume of the Pinellas culture, which contains close relatives of Dehalococcoides ethenogenes, stimulated complete dechlorination of cis-DCE
to ethene within 20 days. This effect was repeated in a second column injected with the same culture. Furthermore, VC production was transient in both bioaugmented columns, with rapid conversion to
ethene.
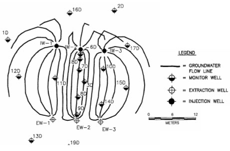
The bioaugmentation field pilot test at Dover AFB involved a recirculation design and the addition of lactate (Ellis et al. 2000). The well layout of the pilot test area (PTA) is illustrated in Figure B-1. The
layout of the PTA and the pumping rates were designed with the aid of groundwater flow modeling and subsequent tracer tests with bromide. The trea™ent well network consisted of one row of three
extraction wells and another row of three injection wells, with each row oriented perpendicular to the prevailing hydraulic gradient. The two rows were 6 m apart. Based on the results of modeling and tracer
testing, a combined extraction rate of 11.6 L/min was chosen as the design flow that would achieve sufficient capture. This pumping rate resulted in an estimated residence time of 60 days.
The system was operated in biostimulation mode for the first 269 days, with TCE being stoichiometrically dechlorinated to cis-DCE, but not to VC or ethene. Lactate was delivered on a 7-day, pulsed
feeding schedule to minimize biofouling at the injection wells. The PTA was augmented with the Pinellas culture on days 260 and 284 (180L, and 171 L, respectively), and VC and ethene was detected
within 90 days of bioaugmentation. A complete mass balance conversion of TCE and cis-DCE to ethene was achieved within 8 months after bioaugmentation.
After completion of the pilot test, Hendrickson et al. (2001) used 16S rDNA-based PCR methods to screen for the presence of Dehalococcoides ethenogenes-like bacteria within the PTA. One year after
the completion of the pilot, close relatives of Dehalococcoides ethenogenes were detected throughout the test plot, but were not detected outside the PTA, which provided additional evidence that the
attainment of complete dechlorination within the test plot was linked to the presence of Dehalococcoides. Additional sampling performed 2 and 3 years after the completion of the pilot test detected the
continued presence of Dehalococcoides ethenogenes-like bacteria within the PTA, but again not in the upgradient background wells. These data indicate that the Dehalococcoides strains injected into the
subsurface can survive for long periods, and continue to dechlorinate as long as an anaerobic environment is maintained.
Kelly Air Force Base, San Antonio, Texas
Major et al (2002) conducted a demonstration of bioaugmentation for treating dissolved-phase PCE, TCE and cis-DCE at Kelly AFB in San Antonio, Texas. Prior to the demonstration, the site
groundwater contained about 1 mg/L of PCE and lower amounts of TCE and cis-DCE, without any detectable VC or ethene. Analysis with 16S rDNA-based PCR methods did not detect
Dehalococcoides in any groundwater or sediment samples from the PTA. Laboratory microcosm studies showed that non-bioaugmented trea™ents containing lactate or methanol resulted in stoichiometric
conversion of TCE and cis-DCE, without further dechlorination of cis-DCE to VC or ethene. Microcosms bioaugmented with KB-1, a halo-respiring culture that contains various strains of
Dehalococcoides, and methanol stoichiometrically converted all of the TCE to ethene. The field test consisted of three recirculation plots, two that served as control plots, and one that was bioaugmented
with KB-1.
Figure B-2 illustrates the example performance monitoring results for the bioaugmentation test plot. The test plot was recirculated for 89 days to equilibrate the system and to conduct the bromide tracer test.
From day 90 to day 175, methanol and acetate were added as electron donors to establish reduced conditions and to stimulate reductive dechlorination by the indigenous bacteria. Bioaugmentation with 13L
of KB-1 occurred on day 176. Performance monitoring of the control and test plots showed that in the presence of methanol and acetate, the indigenous bacteria could be stimulated to dechlorinate PCE to
cis-DCE. However, no dechlorination past cis-DCE was observed in the control plots for the remainder of the test. In contrast, VC was detected 52 days after bioaugmentation with KB-1 in the test plot,
and by day 318 ethene was the dominant product. Calculated half-lives for degradation were on the order of minutes to hours. 16S rDNA-based PCR methods were used to monitor the migration and
growth of KB-1 culture after injection. Molecular monitoring showed that the culture had completely colonized the 9.1 meter-long aquifer test plot within 115 days after the one-time injection of KB-1. The
two control plots were installed and operated in the same manner as the test plot, but were never amended with KB-1. In these control plots dechlorination stalled at cis-DCE, with no VC observed during
216 days of operation. Molecular analysis confirmed that Dehalococcoides was not present in the control plots.
Bachman Road Residential Wells Site, Oscoda Michigan
Lendvay et al. (2003) conducted a field demonstration of the relative performance of bioaugmentation and biostimulation through side-by-side closed-loop, recirculatory remediation test plots at the
Bachman Road Residential Wells Site in Michigan. Molecular analysis indicated that indigenous Dehalococcoides populations existed at the site, and this population was enriched (the Bachman Road
Culture) and used for the bioaugmentation plot. Two test plots (4.6 x 5.5 m) were constructed perpendicular to groundwater flow, separated by one plot of the same size. Each plot consisted of an
extraction well, two injection wells, and a series of performance monitoring points. A bromide tracer study was performed to quantify the hydraulics of each test plot, and a design recirculation flow rate of 7
gpm was selected for each plot. Both the biostimulation and bioaugmentation plots received lactate as an electron donor. The bioaugmentation test plot was preconditioned with a lactate (0.5 to 1.0 mM)
and nutrient feed prior to bioaugmentation. On day 29, 200 L (108 cell/mL) of the Bachman Road Culture was introduced into the bioaugmentation plot.
Relative to the control (biostimulation) plot, bioaugmentation resulted in a significant reduction in the time to achieve complete dechlorination to ethene. Complete dechlorination of PCE to ethene was
achieved within 6 weeks after inoculation in the bioaugmentation plot, whereas, after 4 months of operation nearly 76% of the PCE was converted to ethene in the biostimulation plot. Important findings of
this work include: (1) dechlorination in the bioaugmentation plot was demonstratively linked to the presence of Dehalococcoides; (2) Dehalococcoides populations grew (measurable numbers increased) as
system operation proceeded; (3) addition of Dehalococcoides can significantly shorten lag times to the onset of dechlorination; and (4) biostimulation approaches can achieve complete dechlorination to
ethene at sites where certain Dehalococcoides populations occur naturally.
Industrial Site, Boston, Massachusetts
GeoSyntec and ERM are performing a bioaugmentation pilot test at an industrial facility in Boston (Chang et al. 2002; 2003). Spent organic solvents, primarily TCE, were released to unconsolidated soils
through a dry well located interior to the main manufacturing building. The TCE is suspected to have traveled along building pilings downward to the basal unit of fractured bedrock. The pilot test area (PTA)
is located directly downgradient from the dry well. Concentrations of TCE in the pilot test area range from 30 to 120 mg/L. Due to the proximity to salt water, sulfate and chloride concentrations in shallow
bedrock were approximately 400 and 5,500 mg/L, respectively. Pre-design laboratory studies using PCR and 16S rDNA-based methods detected the presence of an indigenous Dehalococcoides
population. Microcosms studies confirmed that when supplied with an exogenous electron donor, the indigenous microorganisms could be stimulated to convert TCE to ethene. However, compared to
microcosms amended with the KB-1™ culture, the rate of ethene production achieved by the native bacteria was much slower, even after a six month incubation period. Based on the results of the
laboratory trials, bioaugmentation was selected for the field pilot test.
A recirculatory, forced-gradient pilot test system was designed based on the demonstrated success of achieving effective reagent delivery and maximum mass balances with these types of pilot-scale systems
for bioremediation applications at other sites (e.g., Hopkins and McCarty 1995; McCarty et al. 1998; Ellis et al. 2000). The PTA is comprised of an injection well, extraction well, and three monitoring
wells. The PTA layout was oriented such that the induced gradient was parallel with the prevailing ambient flow direction and hydraulic gradient to minimize leakage from the pilot test area. Prior to
performing any biological trea™ents, the hydraulics of the PTA (i.e., flow rates, residence time, capture, mass recovery) were quantified via tracer testing with iodide. The tracer test demonstrated hydraulic
connectivity across the PTA, but only 15% of the iodide delivered to the injection well was recovered at the extraction well. These results indicated a high degree of mixing between the recirculation cell and
ambient groundwater. Subsequent observation in the vicinity of the Site revealed that dewatering activities at a neighboring property caused periodic 90-degree changes in the hydraulic gradient in the PTA.
Example results for the pilot system are illustrated in Figure B-3. The PTA was fed acetate for the first 3 months of operation for the purpose of establishing reducing conditions in the test zone, prior to
bioaugmentation. During this preconditioning period, sulfate concentrations and oxidation/ reduction potential (ORP) decreased linearly, and TCE was dechlorinated to cis-DCE. Dechlorination did not
proceed beyond cis-DCE prior to bioaugmentation. During the fourth month of operation (June 2002), the PTA was augmented with KB-1™ and methanol was added as a supplemental electron donor.
Acetate addition was discontinued in October 2002 due to site-specific reasons. Bioaugmentation was achieved by transferring 40L of KB-1™ culture from the stainless steel culture containers into the
injection well. Argon gas was used to displace the culture from the containers and push it into the well. The bioaugmentation culture volume was calculated based upon a design target of 0.01% of the pore
volume in the PTA.
As shown in Figure B-3, TCE and cis-DCE have been degraded to below their respective State remediation standards throughout the PTA. Transient accumulations of cis-DCE and VC appeared at peak
concentrations that were approximately equivalent to the initial micromolar concentration of TCE. Detectable conversion of VC to ethene began in the latter half of 2002, a few months after bioaugmentation.
In 2003, production of ethene has continued to increase; however, VC losses have not been balanced by ethene increases. The cause for this gap is not known, but is likely related, in large part, to dilution of
the plume in the PTA as a result of the shifting hydraulic gradients at the Site. Molecular assays (PCR and genetic analyses) of groundwater samples collected from the PTA after bioaugmentation indicate
that the density of Dehalococcoides populations in the PTA has increased significantly since bioaugmentation.
Caldwell Trucking NPL Site, New Jersey
Golder Associates and GeoSyntec are operating a bioaugmentation/biostimulation system to treat a PCE/TCE DNAPL source area in fractured bedrock groundwater at the Caldwell Trucking Superfund
Site in New Jersey. The system is treating a source area in fractured basaltic bedrock in a test area measuring approximately 120 feet wide, and 40 feet long. The source area was bioaugmented (February
2001) with the KB-1™ culture, and electron donors (methanol, lactate and acetate) are added periodically in a batch mode via multiple injection wells. Groundwater circulation is not a component of this
design. Initially, electron donor was added on a weekly basis. After monitoring results showed relatively slow trea™ent performance, the frequency of donor addition was increased to a daily basis. Example
performance monitoring results are provided in Figure B-4. As of Fall 2002, results indicated an order of magnitude decline in PCE/TCE concentrations, with an accompanied increase in the concentration of
cis-DCE and VC. There is evidence that cis-DCE production has peaked and concentrations are starting to decline. TCE concentrations in the well containing the highest TCE concentration (680 mg/L)
have declined by 90 percent. Furthermore, the use of molecular probes has demonstrated that the Dehalococcoides microorganisms that were injected in the KB-1™ culture have become distributed
throughout the test area.
Compared to the other bioaugmentation projects described above, the rate of trea™ent at Caldwell has been somewhat slower. One primary reason for this observation is that the Caldwell system is treating
a DNAPL source area, while the other projects (except for the Boston site) are treating dissolved phase plumes. Other key factors affecting the rate of trea™ent performance at Caldwell include electron
donor delivery design and a presence of chloromethanes and chloroethane co-contaminants. While the Dover AFB, Kelly AFB, Bachman Road, and Aerojet bioaugmentation systems used forced gradient,
groundwater circulation to deliver electron donor, the Caldwell system uses batch injection. High concentrations of chloroform (CF) and 1,1,1-trichloroethane at Caldwell also likely compete for electron
donor, and slow the relative rate of cis-DCE and VC conversion to ethene.
Aerojet General Corporation, Sacramento, California
A field demonstration was initiated to assess TCE dechlorination in a deep aquifer at the Aerojet Superfund site in California (Cox et al., 2000; 2002). Previous laboratory microcosm studies for the Aerojet
site had shown that TCE dechlorination consistently stalled at cis-DCE, unless bioaugmented with dehalorespiring bacteria. The addition of lactate alone to the pilot test area (PTA) groundwater failed to
promote significant TCE dechlorination past cis-1,2-DCE (VC and ethene were not produced). Bioaugmentation of the PTA with KB-1 immediately accelerated the rate of TCE and cis-DCE
dechlorination, and VC and ethene production from cis-1,2-DCE were observed within 8 days following bioaugmentation. Within 125 days, the concentrations of TCE (starting from 2 mg/L), cis-DCE,
1,1-DCE and VC were below respective MCLs in the PTA. Molecular characterization techniques (16S rRNA screening using PCR) were used to evaluate the presence of Dehalococcoides: i) prior to
bioaugmentation, to assess the effects of electron donor addition alone; and ii) following bioaugmentation to track the success of KB-1 addition, and to assess its transport and survival in the PTA
groundwater. Initial sample analyses were negative, suggesting that Dehalococcoides was not present in the PTA groundwater. A few days after bioaugmentation, a strong signal representative of the
Dehalococcoides strain in KB-1 was detected in the PTA well where KB-1 was introduced to the aquifer. A final sample round for Dehalococcoides was collected 75 days after bioaugmentation, and all
wells in the PTA, to a distance of 50 feet from the point of introduction, indicated moderate to strong DHE signal suggesting transport of KB-1 through the PTA.
Table B-1. Selected Field Demonstrations.
| Site Name, Location |
VOC |
Contaminant Concentration |
Geology |
Culture |
Culture Volume Used (L) |
System Scale |
Reference |
| Dover Air Force Base, Dover, DE |
TCE |
5 mg/L |
Silty sands |
Pinellas |
350 |
Pilot |
Ellis et al. 2000 |
| Kelly AFB, San Antonio, TX |
PCE |
2 mg/L |
Shallow silty gravel |
KB-1 |
13 |
Pilot |
Major et al. 2002 |
| Bachman Road, Lake Huron, MI |
PCE |
|
Fine to medium grained sand |
Bachman
Road
|
200 |
Pilot |
Lendvay et al. 2003 |
| Aerojet, Sacramento, CA |
TCE |
2 mg/L |
Deep alluvium |
KB-1 |
50 |
Pilot + Full |
Cox et al. 2000; 2002 |
| Caldwell Trucking NPL, NJ |
TCE |
200 mg/L |
Fractured Basalt |
KB-1 |
160 |
Full |
Finn et al. 2003 |
| Industrial Site, MA |
TCE |
80 mg/L |
Fractured Bedrock |
KB-1 |
40 |
Pilot |
Chang et al. 2002; 2003 |
Figure B-1. Pilot test well layout and inferred groundwater flow lines for Dover AFB bioaugmentation demonstration (from Ellis et al. 2000). (EW = extraction well; IW = injection well).

Figure B-2. Performance monitoring results for bioaugmentation test plot at Kelly AFB (Major et al. 2002)

Figure B-3. Performance monitoring results (MW-1004B) for bioaugmentation demonstration in fractured bedrock, Boston, Massachusetts.

Figure B-4. Example performance monitoring results (MW-C14) for bioremediation system at Caldwell Trucking NPL site.
Klik her for at se figuren.
SUMMARY
The successful application of bioaugmentation for in situ remediation of chlorinated solvents in groundwater has been demonstrated by multiple research teams at multiple sites. These technology
demonstrations have been validated through critical evaluations, expert peer-review, and publication in leading scientific journals. As shown by these demonstrations, bioaugmentation with certain
Dehalococcoides cultures can achieve in situ dechlorination half lives on the order of hours for chloroethenes, and thereby dramatically shorten the timeframe for attaining compliance with cleanup criteria. In
addition, each of the case studies demonstrated the benefits of applying molecular assays (i.e., 16S rDNA-based PCR) for tracking the growth and transport of bioaugmentation cultures. From these works,
it is evident that exogenous cultures can survive, proliferate, and potentially migrate significant distances in the subsurface.
The projects reviewed here all have several recommended design elements in common, including (1) pre-design studies to identify appropriate electron donors and identify the need for bioaugmentation; (2)
simple groundwater flow modeling to quantify system hydraulics of trea™ent areas; (3) tracer testing to calibrate system flow models and confirm connectivity between injection and monitoring points within a
trea™ent area; (4) execution of pilot test to verify feasibility and quantify performance prior to design of a full-scale system; and (5) confirmation of trea™ent performance through mass balance analysis,
geochemical monitoring, and molecular monitoring. It should be recognized that the intensive monitoring programs used in most of these cases studies (i.e., extensive sampling requirements) was only
appropriate because these projects were technology demonstrations. The resource requirements for routine pilot- and full-scale bioaugmentation applications are typically less than the examples described
here.
Appendiks C Lokalitets- og feltundersøgelser
Dette afsnit giver en opsummerering af den information der er nødvendig for at udvikle et koncept der er tilstrækkeligt til at bestemme metodens anvendelse (Morse et al., 1998).
Historik
- Kemikaliehåndtering og opbevaring
- Tidligere arealanvendelser
- Klimatologisk historik
- Tidligere afværgeaktiviteter
- Topografiske kort
- Underjordiske installationer
Forureningsdata
- Opgørelse af forureningskomponenter
- Kildeopsporing
- Den 3 dimensionale udbredelse
- Fasefordeling (opløst, sorberet, luft, fri fase)
- Udførte analyser
Geologi og hydrogeologi
- Magasinopbygning, stratigrafi, dybde, heterogenitet
- Hydraulisk ledningsevne
- Hydraulisk gradient
- Grundvandshastighed
- Grundvandsboringer eller brønde og afløbspunkter
Geokemi
- Opløste gasser (ilt, methan, hydrogen sulfid)
- Opløst og fast fase elektron accepterende forbindelser (NO3-, Fe(III), Mn(IV), SO42-)
- Opløst organisk kulstof
- Grundvandets pH, alkalinitet, redox potentiale and temperatur
Forureningsdata
Afgrænsning og karakterisering af kildeområdet er et kritisk krav for alle typer in situ teknikker, ligesom størrelse, sammensætning og koncentration af forureningskilden vil afgøre massefluxen af
forureningen, den nødvendige koncentration/masse af elektrondonor og eventuelle processer der kan hæmme dekloreringen. Forureningen i gas-, jord og vandfase bør så vidt muligt afgrænses både vertikalt
og horizontalt. Tilstedeværelsen af andre forureningstyper kan både være fordelagtig eller ugunstig, fx vil høje koncentrationer af tungmetaller eller lavt pH hæmme mibiologisk aktivitet og dermed reducere
metodens virkningsgrad. Derimod kan forekomst af en kulbrinteforurening være fordelagtigt idet kulbrinterne kan bruges som elektrondonor.
Bestemmelse af nedbrydningsprodukter (cis-DCE, VC, ETH) er et vigtigt grundlag for bestemmelse af designet. Hvis cis-DCE, VC, og/eller ETH er tilstede i markante koncentrationer, indikerer dette at
elektrondonorer allerede er tilstede, og at der er oprindelige dehalorespirerende bakterier på lokaliteten. Tilstedeværelsen af forhøjede koncentrationer af ethen kan give en tidlig indikation på om
bioaugmentation med en Dehalococcoides kultur er nødvendigt. Type og udbredelse af elektrondonorer (fx oliekomponenter eller naturligt organisk stof) bør kvantificeres for at opnå forståelse af hvor den
egentlige deklorering foregår mest aktivt, og hvilke donorer der bidrager til denne deklorering.
Geologi og hydrogeologi
De geologiske- og hydrogeologiske forhold er vigtige, herunder geologiske lagfølge og heterogenitet, magasinets ydelse , magasinsammenhænge, vandstandsvariationer over over året, potentialeforhold, den
hydrauliske ledningsevne, grundvandets strømningshastighed og retning, massefylde og porøsitet. Den hydrauliske ledningsevne (k) er speciel vigtig siden akviferen skal være permeabel nok til at kunne
transportere elektrondonorerne (og exogene kulturer hvis nødvendigt) gennem behandlingsområdet. Kendskab til k-værdier i flere forskellige punkter er typisk nødvendig på grund af akviferers heterogenitet.
Geokemi
Geokemien har stor betydning for redoxforholdene, herunder forbrug af elektrondonorer. Derfor er målinger af redoxparametre (opløst ilt, nitrat, jern (II), sulfat, sulfid og methan) nøgleparametre for at
vurdere metodens anvendelighed. Der bør gøres forsøg på at afgrænse redoxzoner både vertikalt og horisontalt. På mange lokaliteter er uorganiske elektronacceptorer (fx sulfat eller jern (III) tilstede i langt
højere koncentrationer end de klorerede opløsningsmidler (Schumacher et al. 2000; Leigh et al. 2000; Evans and Koenigsberg 2001; Findlay et al. 2002; Kean et al. 2002; Nakashima et al. 2002), og
tilstedeværelsen af disse eller andre elektronacceptorer vil hovedsageligt kontrollere det valg af elektrondonor type, mængde og injektionsstrategi der er nødvendigt for at opnå tilstrækkelig oprensningseffekt.
Ydermere bør bestemmelsen af de geokemiske forhold inkludere pH, alkalinitet, opløst organisk stof og redoxpotentiale (Morse et al. 1998).
Appendiks D Fel™etoder
Push-pull tests
Push-pull testen er en slug test der udføres i en enkelt boring for at angive størrelsen af forskellige fysiske, kemiske og biologiske forhold i akviferen. Metoden var oprindelig udviklet til at måle
grundvandshastighed, effektiv porøsitet og dispersivitet (Gelhar and Collins 1971; Bachmat et al. 1988; Hall et al. 1991). Nylige modifikationer af metoden tillader analyser af akviferens evne til biologisk
nedbrydning og kvantificering af forureningsnedbrydningsrater ved tilstedeværelse af forskellige elektrondonorer og/eller bakteriekulturer (Istok et al. 1997; Reinhard et al. 1997; Hageman et al. 2001). En
detaljeret liste over referencer mht. til dette emne kan findes på http://ccee.oregonstate.edu/research/grl/push-pull/literature.htm.
Push-pull testen udgøres af 3 faser:
- I den første fase pumpes en mængde forurenet grundvand op af en enkelt boring, og tilsættes derefter relevante elektrondonorer mm. til vurdering af biologisk nedbrydning. Herudover tilsættes en
konservativ tracer.
- I den anden fase bliver grundvandet reinjiceret (pushed) ned i boringen og optager derved et "testvolumen" i grundvandsmagasinet omkring den filtersatte del af boringen. Såfremt den injicerede
sammensætning af tilsætningsstoffer er effektiv, bør der kunne observeres fermentering af elektrondonorerne og deklorering af de klorerede forbindelser inden for få dage efter injektionen.
- I den tredje fase udtrækkes (pulled) den injicerede væske langsomt ved pumpning i den samme boring. Koncentrationerne af traceren, reaktanter og eventuelle omdannede stoffer måles periodisk for
at bestemme gennembrydningskurver for hvert opløst stof. Traceren giver et billede af fortyndingsefekt. Snodgrass og Kitanidis (1998) samt Haggerty et al. (1998) forelægger en simpel
fremgangsmåde til at estimere forureningsnedbrydningsrater direkte fra koncentrationsmålinger og uden brug af numerisk modellering.
In situ mikrokosmos
In situ mikrokosmos (ISM) er en metode til at frembringe fel™ålinger af det biologiske nedbrydningspotentiale, biologiske nedbrydningsrater og sorptionsparametre. Gillham et al. (1990) udviklede ISM for
at fremskaffe en metode der sammenlignet med laboratorie mikrokosmosforsøg var mere representativ for de aktuelle forhold i forureningsfanen. ISM har været benyttet til bestemmelse af biologiske
nedbrydningsrater for mange forskellige slags organiske kemikalier (Acton and Barker 1992; Nielsen et al. 1996).
En typisk ISM er konstrueret som et modificeret rustfrit stål rør der benyttes til at isolere ca. 2 liter mættet akvifermateriale. ISM enheden er udstyret med mindre rør (slanger) i rustfri stål der tillader at
pumpe vand ind eller ud af den isolerede del af akviferen. ISM enheden bliver installeret ved at presse den ned i en boring der er udført til grundvandsspejlet. ISM enheder er installeret ved både
hulsneglsboringer og gennem forede håndboringer (Gillham et al. 1990; Nielsen et al. 1996b), og de har været brugt i dybder til ca. 6 m u.t.
Måden at gribe en ISM test an på kan sammenlignes med en push-pull test. Grundvand bliver først oppumpet fra en boring eller et piezometer der støder op til ISM enheden, og dernæst bliver grundvandet
tilført bionedbrydnings tilsætningsstofferne og en konservativ tracer inden grundvandet langsomt bliver pumpet ind i ISM enheden. ISM enheden er dernæst analyseret over dage, uger eller måneder for at
bestemme reduceringen af forureningsmassen relativt til traceren. Nedbrydningsraten kan bestemmes ved en 1-D strømningsmodel der inkluderer både sorption og 1. ordens biologisk nedbrydning.
Yderligere vejledning i modelleringen af nedbrydningsrater fra en ISM enhed er givet i Nielsen et al. (1996).
Pilotforsøg
Et udkast til en vejledning fra U.S. Depar™ent of Defense og the U.S. Environmental Protection Agency (Morse et al. 1998), anbefaler at pilotprojekter for anaerob biologisk nedbrydning af klorerede
opløsningsmidler benytter tre injektionsboringer, to pumpeboringer og en serie moniteringsboringer placeret mellem injektions- og pumpeboringer (se figur 4-1). Pilotprojekter der er udført i
overenstemmelse med vejledningen varer normalt 6 måneder.
Vejledningen anbefaler følgende udformning vedr. pilotprojekter:
1. At fordele og lede strømmen af elektrondonorer/ næringsstoffer gennem behandlingsområdet uden at fortrænge forurenet grundvand med 'rent' vand eller opløsninger af elektrondonorer.
2. Opnå en hydraulisk opholdstid der er kort nok til at sikre at elektrondonorerne udtyndes og dekloreringen begynder, men lang nok til at observere ændringer i koncentrationerne af forurening og
elektrondonor.
3. Optimere den hydrauliske kontrol mht. til opnåelse af det minimale krav til oppumpning af forurenet grundvand.
4. Muliggøre præcis og pålidelig prøvetagning af gundvandet fra behandlingsområdet.
5. Forhindre tilgroning eller tilstopning fra biologiske og kemiske processer grundet tilsætningen, herunder uorganisk udfældninger og opbygning af gaslommer (fx methan gas).
Pilotforsøget kan afgøre, om der skal forsættes med fuldskala implementering. Metodens anvendelighed bør evalueres udfra hvor fuldendt stimuleret in situ reduktiv deklorering har været, og om resultaterne
er i overenstemmelse med de regulative krav samt tekniske og administrative mål med projektet (Morse et al. 1998). Hvis nedbrydningseffektiviten eller nedbrydningsraterne i pilotforsøget ikke lever op til
projektets mål, samt hvis der ikke er stærke beviser for at behandlingseffektiviteten eller nedbrydningsraterne forbedres med tiden (evt. i kombination med andre nedbrydningsteknikker) vil det være mest
hensigtsmæssigt at udelukke stimuleret reduktiv deklorering som nedbrydningsteknik i behandlingsområdet. I tilfælde hvor pilotforsøg er udført uden tilsætning af bakteriekulturer (bioagumentation) af fx
Dehalococcoides kulturer, samt at DCE or VC er ophobet og stadig eksisterer seks måneder, kan det være hensigtsmæssig at tilsætte bakteriekulturer og udføre pilotforsøget endnu engang.
Appendiks E Risikoforhold
Forhold i Nordamerika
Tilsætning af elektrondonorer til grundvand
Stimuleret in situ reduktive deklorering skaber midlertidig og lokal forandring af grundvandskvaliteten ved tilsætning af elektrondonorer. Specielt elektrondonorer der skaber reducerende forhold øger BOD,
optager ilt og fremkalder opløsning af metaller (fx FeII, MnII), sulfid og methan. Disse forhold skaber bekymring hos myndighederne, specielt når der er tale om grundvandsmagasiner.
I USA er midlertidig og lokal forandring af grundvandskvaliteten ved tilsætning af fermenterede substrater (mange er fødevareforbindelser) tilladt, da disse substrater benyttes til at fjerne organiske
forureninger fra grundvandet. Generelt er processen accepteret fordi den skaber en netto reduktion af toksicitet og risikoforhold, også selvom udledning af elektrondonorer i grundvandet skaber nye - men
midlertidige - påvirkninger af grundvandet.
Direkte injektion af elektrondonorer til grundvandsmagasiner forurenet med klorerede opløsningsmidler bliver administreret forskelligt af de forskellige myndigheder i USA. I nogle stater er tilladelser i
henhold til "Underground Injection Control" (UIC) eller "Waste Discharge Requirement" (WDR) nødvendige for afværgeforanstaltninger der involverer tilsætning af elektrondonorer. UIC og WDR
retningslinierne er begge udformet til at kontrollere bevidst udledning af stoffer der kan påvirke grundvandskvaliteten. I begge disse retningslinier er kravene til tilladelser for drikkevandsmagasiner generelt
strengere end til grundvandsmagasiner der ikke bruges til drikkevand (fx pga. højt saltindhold).
Florida og Californien har etableret detaljerede regulative retningslinier m.h.t. injektion af fermenterbare elektrondonorer og andre in situ tilsætningsstoffer. UIC krav i Florida forbyder udledning af stoffer til
drikkevandsmagasiner, da det kan forårsage overskridelse af primære og sekundære grænseværdier. Dog har miljømyndighederne i Florida, Florida Depar™ent of Environmental Protection (FDEP),
udviklet et program der giver grundejere tilladelse til at ansøge om en variant af UIC kravene, hvilken tillader at der bliver skabt en midlertidig påvirkning af grundvandsmagasinet i behandlingsområdet.
Generelt skal ansøgeren kunne garantere, at enhver negativ påvirkning af grundvandskvaliteten på grund at tilsætning af behandlingsmidlerne vil være væk efter 365 dage. Ansøgerne skal acceptere at
foretage undersøgelser af grundvandskvaliteten før, under og efter injektion af tilsætningsstoffer, for at vurdere påvirkningerne og måle behandlingseffekten. Ansøgeren skal også specificere størrelsen af den
forventede rumlige påvirkning af akviferen, og garantere at der ikke vil ske påvirkninger uden for dette område. Et eksempel på en sådan ansøgning kan ses på
http://www.dep.state.fl.us/waste/quick_topics/publications /pss/pcp/innovative/oth_446i.doc.
FDEP har udstedt mange varianser af UIC vejledninger for in situ teknikker inkl. stimuleret reduktiv deklorering og kemisk oxidation af klorerede opløsningsmidler. En liste over ansøgninger, hvilke er
kategoriseret ved produkt eller substans findes på http://www.dep.state.fl.us/waste/categories/pcp/pages/list.htm. Et eksempel på en ansøgning for brugen af laktat i et recirkulationssystem kan ses på
http://www.dep.state.fl.us/waste/quick_topics/ publications/pss/pcp/innovative/variances/va_0029.doc.
I Californien er det "California Regional Water Quality Control Board", CARWQCB, der administrerer WDR tilladelser i ele staten. Der stilles krav om, at enhver person der udleder eller påtænker at
udlede stoffer til andet end det kommunale kloakanlæg, således at vandkvaliteten i staten kan påvirkes, skal indsende en ansøgning om udledningen til de regionale myndigheder. De regionale myndigheder
fastsætter derefter kravene til udledningen eller den foreslåede udledning. WDR tilladelser er nødvendige til enhver aktivitet der involverer udledning af spildevand eller kemisk påvirket vand til overflade- eller
grundvand, inkl. injektion af elektrondonorer til in situ nedbrydning af klorerede opløsningsmidler.
Generelle WDR tilladelser skal være udstedt før grundejeren må injicere elektrondonorer til grundvandet, både for pilot- og fuldskala projekter. Baggrunden for og fremgangsmåden til ansøgning og
vurdering af WDR tilladelser kan ses på http://www.swrcb.ca.gov/rwqcb4/h™l/ permits/gen_orders/WDR-R4-2002-0030.pdf. Ansøgningen om WRD tilladelse skal indeholde en kopi af arbejdsplanen for
afværgeprojektet. WDR programmet kræver også monitering af grundvandskvaliteten før, under og efter in situ injektion af tilsætningsstoffer. Resultater af laboratorieforsøg kan mindske forsinkelser i
vurdering og accept af ansøgninger. WDR tilladelser er ofte udvidet til at omfatte injektion af en eller flere specifikke elektrondonorer, inklusive HRC, acetat, laktat, propionat, benzoat, oleat, ethanol,
propanol, methanol, glukose, melasse og andre biprodukter fra fødevarefremstilling såsom valle eller gær-ekstrakter. Hvis der i ansøgningen foreslås tilsætning af en anden slags elektrondonor eller en
varemærkebeskyttet sammensætning, der ikke er dækket af kravene i den generelle WDR tilladelse, kan en områdespecifik WDR tilladelse blive nødvendig. Områdespecifikke WDR tilladelser er ofte
nødvendige, fx når Dehalococcoides kulturer bruges til bioaugmentation.
Patogene stoffer og tilsætning af bakteriekulturer
I USA er der ingen føderative eller statslige forbud mod brugen af blandede, ikke-genetisk udviklede kulturer til oprensning af jord og grundvand. De seneste publikationer fra den amerikanske miljøstyrelse,
USEPA, om brugen af UIC tilladelser tilkendegiver, at bioaugmentation kan overvejes som afværgeløsning (fx U.S. EPA 1999 http://www.epa.gov/safewater/uic/classv/pdfs/volume16.pdf ). Imidlertid kan
statslige myndigheder kræve specielle tilladelser for at bruge bakteriekulturer til afværge. For eksempel har Florida Depar™ent of Environmental Protection (FDEP) tilladt brug af KB-1 kulturer til biologisk
stimulering af områder forurenet med klorerede opløsningsmidler. FDEP administrerer godkendelser af kulturerne gennem det såkaldte "Aquifer Remediation Zone of Discharge" program. Vejledning fra
FEDP anbefaler, at kulturerne skal leve op til helbredskriterierne for mikroorganismer "Biosafety Level (BSL-1)", der er oprettet af den amerikanske sundhedsstyrelse gennem center for
sygdomsforebyggelse og kontrol, "Centers for Disease Control and Prevention (CDC)". BSL-1 stoffer er defineret som stoffer, der ikke er kendt for konsekvent at forårsage sygdom hos sunde voksne
mennesker. Yderligere information om risikogrupper og BSL-1 kan findes i CDC/NIH manualen Biosafety in Microbiological and Biomedical Laboratories (BMBL) 4th edition, på CDC websiden
www.cdc.gov/od/ohs/. FDEP vejledning om dette emne findes på http://www.dep.state.fl.us/waste /quick_topics/publications/pss/pcp/innovative/oth_446c.doc.
I Californien er der krav om områdespecifikke udledningstilladelser ved brug af bakteriekulturer til in situ afværge. Godkendelse fra landets sundhedsstyrelse kan også være et krav i nogle stater. Indtil dato
er der godkendt injektion af Dehalococcoides kulturer (e.g., KB-1, Bachman Road, Pinellas) i 10 amerikanske stater (Alaska, Californien, Delaware, Florida, Massachusetts, Michigan, New Jersey,
Pennsylvania, South Carolina og Texas). Selvom den amerikanske miljøstyrelse ikke regulerer brugen af bakteriekulturer til in situ afværge med stimuleret biologisk nedbrydning, er det sikkert at visse
kulturer berettiger nøjere undersøgelse mht. deres patogene egenskaber. Historisk set har fx Burkholderia Cepacia været brugt til bioaugmentation for aerob cometabolsk in situ biologisk nedbrydning
(Bourquin et al. 1997), og kulturen blev for nylig identificeret som mulig patogen i forbindelse med cystisk fibrose (Holmes et al. 1997; Vandamme et al. 1997).
I Canada er brugen af mikroorganismer til biologisk nedbrydning reguleret af den canadiske miljøstyrelse, Environment Canada, under de gældende miljølove (Canadian Environmental Protection Act
(CEPA). Både naturligt forkommende og genetisk forarbejdede mikroorganismer er strengt reguleret i henhold til miljøloven. Environment Canada (2001) har udgivet retningslinier for bekendtgørelse og
undersøgelse af nye organismer, se http://www.ec.gc.ca/substances/nsb/download/Bioge1201.PDF. Disse retningslinier opstiller krav for hvorledes kulturer, der skal benyttes til bioaugmentation, skal
undersøges mht. deres patogene egenskaber. KB-1 kulturer, der indeholder Dehalococcoides, blev som en del produktudviklingen undersøgt for patogene egenskaber i overensstemmelse med de angivne
retningslinier. Der blev ikke fundet sygdomsfremkaldende egenskaber i KB-1 kulturen (se forsøgsresultaterne for KB-1 i tabel 5.1).
Tabel 5.1: Resultater af patogen screening af KB-1 ™
| Organisme |
Relaterede sygdomme |
Undersøgelsesresultat |
| Salmonella sp. |
Tyfus, gastroenteritis |
Negativ |
| Listeria monocytogenes |
Listerioses |
Negativ |
| Vibrio sp., |
Kolera, gastroenteritis |
Negativ |
| Campylobacter sp., |
Diarré |
Negativ |
| Hemolytic Clostridia sp. |
Botulisme, stivkrampe, koldbrand |
Negativ |
| Bacillus anthracis |
Miltbrand |
Negativ |
| Pseudomonas aeruginos |
Infektion af sår |
Negativ |
| Yersinia sp., |
Byldepest, indvoldsinfektion |
Negativ |
| Pathogenic Yeast and Mold |
candidiasis (moniliasis), gær-infektion osv.. |
Negativ |
| Fecal coliforms |
Indikator for humane patogener, diarré, urinvejsinfektion |
Negativ |
| Enterococci | Forskellige opportunistiske infektioner | Negativ |
Reinjektion af forurenet grundvand
I Californien og Florida kan tilladelser for recirkulation af forurenet grundvand for in situ biologisk nedbrydning gives af henholdsvis WDR og UIC, så længe at andre regulative forhold overholdes. Injektion
af forurenet grundvand, der er tilsat behandlingsmidler, betragtes med bekymring af de amerikanske myndigheder. Indtil for nylig var det svært for den godkendende myndighed at tillade reinjektion af
forurenet grundvand ved in situ afværgeforanstaltninger, på grund af de gældende UIC love og bestemmelser. I december 2000 udsendte den amerikanske miljøstyrelse dog en erklæring, der udtrykkeligt
tillader injektion og/eller recirkulering af forurenet grundvand til in situ biologiske nedbrydningsformål (U.S. EPA 2000 -
http://www.epa.gov/epaoswer/hazwaste/ca /resource/guidance/remwaste/refrnces/pol-mem3.pdf).
Retningslinien fra USEPA tydeliggør at reinjektion af behandlet grundvand, for at fremme in situ behandling, er tilladt under loven for ressourcebevaring og genoprettelse (RCRA, specielt sektion 3020(b)),
så længe visse betingelser overholdes. Det gælder at behandlingen skal foretages for at reducere sundhedsfarlige stoffer i grundvandet - enten før eller efter reinjektion; oprensningen skal virke beskyttende
for det menneskelige helbred og naturen; og injektionen skal kunne henføres til at opfylde sektion 104 eller 106 i "The Comprehensive Environmental Response, Compensation, and Liability Act (CERCLA),
mest kendt som Superfund (se http://www.epa.gov/superfund/action/law/cercla.htm) eller som et forbedrende tiltag for oprensning af forurening i henhold til RCRA.
Appendiks F Screening af lokaliteter
- Appendiks F.1 Nørregade 4, Assens
- Appendiks F.2 Adelgade 138, Bogense
- Appendiks F.3 Dalumvej 22-28, Odense
- Appendiks F.4 Dalumvej 34B, Odense
- Appendiks F.5 Dalumvej 62, Odense
- Appendiks F.6 Middelfartvej 126, Odense
- Appendiks F.7 Sanderumvej 113, Odense
- Appendiks F.8 Rønnevej 13-15 Næsby
- Appendiks F.9 Rugårdsvej 166, Odense
- Appendiks F.10 Rugårdsvej 234 - 238, Odense
- Appendiks F.11 Sortebrovej 26, Tommerup
- Appendiks F.12 Bogensevej 39, Grønnemose, Årup
- Appendiks F.13 Industrivirksomhed, Svendborg
Appendiks F.1
Nørregade 4, Assens
Vurdering
Der er gennemført en grundig undersøgelse med kortlægning af jord- og grundvandsforureningen. Grundvandsforureningen er dog ikke fuldstændig afgrænset horisontalt i nedstrøms retning.
De geologiske og hydrogeologiske forhold er meget varierende i kildeområdet. Det øvre sekundære magasin, hvor den væsentligste forurening findes, veksler således med sand, silt og moræneler.
I kildeområdet er PCE og TCE tilstede i både moræneler og det underliggende sekundære magasin. Den væsentligste forureningsspredning er sket i det øvre sekundære magasin. Reduktiv deklorering ser
ikke ud til at foregå i væsentligt omfang. cDCE og VC findes typisk kun i små koncentrationer bortset fra områder med meget høje indhold af TCE.
De geokemiske data veksler meget, og det kan ikke udelukkes, at der er sket påvirkning ved prøvetagningen. Der er således fundet både aerobe og jernreducerende forhold i det øvre sekundære magasin.
Adgangsforholdene er dårlige. Kildeområdet ligger under bygninger og en del af fanen ligger i vej.
Et afværgeprojekt med stimuleret in situ reduktiv deklorering vil være vanskeligt først og fremmest pga. de dårlige adgangsforhold. Evt. migration af methan og VC skal også tages i betragtning. Supplerende
geokemiske data er ligeledes nødvendig for at vurdere potentialet for reduktiv deklorering. Som udgangspunkt vurderes det nødvendigt at anvende bioaugmentation ved en evt. afværge.
Konceptuel model

Foto

| Datablad |
| Basisoplysninger |
| Lokalitet |
Nørregade 4, Assens. Forurenet lokalitet nr. 421-13 |
| Adresse |
Nørregade 4, Assens. |
| Matr. nr. |
del af matr. nr. 469 Assens Bygrunde |
| Grundejer |
Bendix Ejendomme Investering Aps, Vestergade 13, 5000 Odense C |
| Forureningsaktivitet |
Renseri: 1965-1980Spild ved håndtering af rensevæsker ved rensemaskine
og slambrønd. Desuden udsivning gennem kloak i baggård |
| Nuværende arealanvendelse |
Beboelse. Står pt. ubeboet. |
| Risikoforhold |
Arealanvendelse. Indeklima. |
| Undersøgelsesrapporter |
Forureningsundersøgelse. Forurenet lokalitet nr. 421-13, Tidligere
renseri, Nørregade 4, Assens. December 2002. |
| Tidligere afværge |
Afværge til sikring af indeklima i flere beboelser på kildegrunden
gennemføres i 2004 ved hjælp af værditabsordningen. Afværgen
omfatter bl. a. en delvis kildefjernelse ved opgravning/opboring. |
| Indsatsområde for afværge |
Øvre sekundære magasin. |
| Indsatsområde for screening |
Øvre sekundære magasin, herunder kildeområde i mættet
zone |
| Geologi og hydrogeologi |
| Geologi |
Kote 12,8 m. Meget vekslende geologi i de øverste 10 m. Øverst
1,7-3 m fyld. Herunder smeltevandsaflejringer af sand, silt og ler (senglaciale
aflejringer) med mægtighed på 2-3 m i kildeområdet og op til
5 m nedstrøms kildeområdet. Under smeltevandsaflejringer findes der
sammenhængende moræneler med en tykkelse på 2-6 m. Dybden til
moræneleren stiger i nedstrøms retning. Herunder udbredt lag af glaciale
smeltevandsaflejringer af sand og ler. |
| Relevante magasiner for oprensning |
Øvre sekundære magasin: Senglaciale aflejringer af sand og silt
samt porevand i moræneler. Meget vekslende geologi.
Nedre sekundære magasin: Glaciale smeltevandsaflejringer af sand: findes fra ca. 7 -10 m u.t. med tykkelse på op til 5 m. Kun svagt forurenet.
|
| Sediment |
Øvre: sand (fint-groft) og silt (senglaciale aflejringer), moræneler
Nedre: Glacialt sand (fin - groft) |
| Magasintype |
Øvre: optræder både frit og spændt.Nedre: spændt |
| Grundvandsspejl |
Øvre: I kildeområdet ca. 2,5 m u.t.. Nedstrøms op til
4,5 m u.t.Nedre: Ca. 2-3 m u.t. Opadrettet gradient fra nedre til øvre. |
| Strømningsretning |
Øvre: Sydlig i kildeområde. Nedstrøms i vestlig retning.
Nedre: Sydlig-sydvestlig.
|
| Hydraulisk ledningsevne |
Øvre: ikke oplyst, men vil variere meget (5x10-5 til 10-9
m/s)Nedre: ikke oplyst, men ud fra kornstørrelse vurderes en k-værdi
på 1x10-5 til 1x10-4 m/s (fint-groft sand) at være
realistisk |
| Gradient |
Øvre: 6 % i kildeområdetNedre: 1,5 % i kildeområdetI kildeområdet
og i nedstrøms retning er der opadrettet gradient fra det nedre til det
øvre sekundære magasin. |
| Porevandshastighed |
Ikke oplyst |
| Grundvandstemperatur |
10 - 15 grader |
| Forureningsprofil |
| Jordforurening |
Jordforurening hovedsagelig i morænelersaflejringerne i den mættede
zone (>90%) fra 2-5 m u.t. PCE: 220 mg/kg, TCE: 1 mg/kgHotspot: 150 m2.
Mængde beregnet til 16 kg. Herudover evt. fri fase.Det kraftigste kildeområde
er under bygninger ved rensemaskine og slambrønd. Herudover udendørs
kildeområde i baggård, hvor der er sket udsivning gennem kloakker. |
| Poreluft |
PCE: 1400 mg/m3, TCE: 3 mg/m3, cDCE: 1 mg/m3 |
| Grundvand |
Øvre: PCE: 13.000 μg/l, TCE: 324 μg/l, cDCE: 1100 μg/l, VC:
34 μg/l.Nedre: PCE: typisk under 5 μg/l, cDCE og VC: < 1 μg/l.
Intet væsentligt indhold af TCA og CM.
|
| Faneudbredelse |
Øvre: >100 μg/l: 80 m lang og 30 m bred.>1000 μg/l: 25
m lang og 15 m bred |
| Ethen i grundvand |
Ingen målinger |
| VC i grundvand |
Relativt højere indhold af VC i nedstrøms retning |
| DCE i grundvand |
Relativt højere i nedstrøms retning |
| Øvrige forureningskomponenter i grundvand |
Nej. Dog fundet kulbrinteforurening opstrøms/sidestrøms, men
forureningen er ikke sammenfaldende med forurening med klorerede opløsningsmidler. |
| Geokemisk profil |
| Org. stof i sediment |
Ingen målinger |
| Redoxforhold |
Vekslende redoxforhold i øvre sek. magasin (aerobt til jernreducerende) |
| Ilt |
0,7-4,5 mg/l |
| Nitrat |
<0,5 - 77 mg/l |
| Sulfat |
Typisk 75-150 men enkelt måling op til 340 mg/l |
| Opløst jern |
<0,05 - 0,47 mg/l |
| Methan |
<0,01 mg/l |
| Redoxpotentiale |
Ingen målinger |
| NVOC |
Ingen målinger |
| pH |
7 - 7,6 |
| Bicarbonat |
Ingen målinger |
| Ionstyrke (ledningsevne) |
Typisk 80-110 mS/m, men enkelte målinger op til 400 mS/m i kildeområdet. |
| Logistiske faktorer |
| Adgangsforhold |
Dårlige adgangsforhold. Den kraftigste forurening findes under bygninger. |
| Tekniker |
Nej |
| Eks. pump & threat |
Nej men lokalitet ligger i byområde |
| Elektricitet, vand, sanitet |
Ja |
| Afstand til bygninger |
Kildeområde under bygninger |
| Afstand til indvindings-boringer og recipienter |
Afstand til nærmeste indvindingsboring for Assens Vandværk er
450 m mod syd.
Nærmeste recipient er Kærum Å, der løber 250 m syd for lokaliteten.
|
Resultat af screening
Klik her for at se tabellen.
Appendiks F.2 Adelgade 138, Bogense
Vurdering
Adelgade 138 er et tidligere renseri, hvor der er sket oprensning af kildeområdet i 2001.
Der er sket en detaljeret horisontal afgrænsning af fanen i det terrænnære grundvand, men ikke en fuldstændig vertikal afgrænsning. Grundvandet optræder primært i moræneler, og strømningen sker i mere
eller mindre sammenhængende sandstriber. Den hydrauliske ledningsevne er ikke angivet i undersøgelserne, men vurderes at variere meget afhængig af, om der måles i moræneleren eller i sandstriberne
(10-5 til 10-8 m/s).
Forureningsforholdene indikerer, at der er gode nedbrydningsforhold, idet der er fundet høje indhold af nedbrydningsprodukterne cDCE og VC. Der er dog ikke fundet ethen - hvilket indikerer, at
nedbrydningen ikke er fuldkommen eller meget langsom. Det vurderes at det er forureningen med kulbrinter, der har virket som elektrondonor ved nedbrydningen.
Forureningsfanen med koncentrationer over 100 μg/l er spredt på en del matrikler, hvilket medfører en del grundejerkontakt ved en oprensning af fanen. Den væsentligste forurening ligger i haver, så det
vurderes realistisk at gennemføre en oprensning med in situ stimuleret reduktiv deklorering. Da grundvandsspejlet står højt, skal evt. påvirkning med methan overvejes.
På grund af den lave permeabilitet vurderes det, at det ikke er muligt at levere elektrondonor med aktive systemer. Et passivt system med langsomtfrigivende donorer vurderes at være mere relevant på
denne lokalitet.
Generelt vurderes lokaliteten at være egnet til at indgå i fase 2 i projektet. En række forhold gør lokaliteten attraktiv:
- der sker i forvejen en betydelig nedbrydning, men det ser ud til, at der sker en ophobning af nedbrydningsprodukterne cDCE og VC - det vides således ikke, om Dehalococcoides findes i grundvandet.
Bioaugmentation kan derfor være relevant.
- kilden er bortgravet, hvilket medfører, at en oprensning med reduktiv deklorering kan ske hurtigere, end hvis kilden ikke var fjernet.
- en passiv oprensningsstrategi anbefales pga. den lave permeabilitet. Adgangsforholdene vurderes i denne forbindelse som værende rimelige.
- lokaliteten kunne være velegnet til at afprøve en biobarriere, idet dybde af forureningsfanen er lille (4-6 m u.t.)
Konceptuel model

Foto

| DATABLAD |
| Basisoplysninger |
|
| Lokalitet |
Adelgade 138, Bogense. Forurenet lokalitet nr. 423-18 |
| Adresse |
Adelgade 138, 5400 Bogense |
| Matr. nr. |
62, Bogense Bygrunde |
| Grundejer |
Erik Thormose, Adelgade 138 |
| Forureningsaktivitet |
Renseri: 1940-1970 |
| Nuværende arealanvendelse |
Bolig |
| Risikoforhold |
Ingen |
| Undersøgelsesrapporter |
Forureningsundersøgelse. Affaldsdepot nr. 423-18, Adelgade 138, Bogense.
December 1999.
Afværgeforanstaltninger. Del af forurenet lokalitet nr. 423-18, Adelgade 138 og 140, Bogense. Juni 2002.
Forureningsundersøgelse. Naboejendomme til forurenet lokalitet nr. 423-18, Tidligere renseri, Adelgade 138, Bogense. Maj 2003.
|
| Tidligere afværge |
Afværge til sikring af beboelse på kildegrund samt naboejendom
er gennemført i 2001. Afværgen har bl. a. omfattet en delvis kildefjernelse
ved opgravning. |
| Indsatsområde for afværge |
Terrænnære grundvand ned til 6-8 m's dybde |
| Geologi og hydrogeologi |
|
| Geologi |
Typisk 0,3 - 1,8 m fyld. Herunder moræneler som ikke er gennemboret
i 12 m's dybde. I moræneleren er der indslag af tynde sandslirer/lag. Sandlagene
har en tykkelse på op til 1 m. |
| Relevante magasiner for oprensning |
Terrænnære grundvand ned til 6-8 m's dybde |
| Sediment |
Moræneler med enkelte sandlinser/sandlag |
| Magasintype |
Spændt |
| Grundvandsspejl |
1-2 m u.t. |
| Strømningsretning |
Nordvest |
| Hydraulisk ledningsevne |
Ingen oplysninger, men da det overvejende er moræneler vurderes den
hydrauliske ledningsevne til at være i størrelsesorden 10-8
m/s dog væsentlig større i område med sandstriber/lag |
| Gradient |
Ca. 0,6 % - dog stor variation |
| Porevandshastighed |
Ikke oplyst |
| Forureningsprofil |
|
| Jordforurening |
Jordforurening oprenset i kildeområde. Kun lille forureningsmasse efterladt
med PCE indhold op til 37 mg/kg TS og TCE indhold op til 6,7 mg/kg TS |
| Poreluft |
Før oprensning af kildeområde: PCE: 0,5 mg/m3, TCE:
0,3 mg/m3. Ingen målinger efter oprensning. |
| Grundvand |
Koncentrationer før kildeoprensning: PCE: 1000 μg/l, TCE: 3600 μg/l,
cDCE: 11.800, VC: 210 μg/l.
Mængde opløst i grundvand: Ikke opgivet i undersøgelsesrapport, men skønnes til 10-20 kg
|
| Faneudbredelse |
>1000 μg/l: Længde ca. 100 m, bredde ca. 50 m
>10 μg/l: Længde ca. 150 m, bredde ca. 80 m.
|
| Ethen i grundvand |
< 10 μg/l |
| Øvrige forureningskomponenter i grundvand |
Totalkulbrinter: 6.500 μg/l, heraf ca. 400 μg/l af BTEX'er |
| Geokemisk profil |
Kun resultater fra B13 og B14 (nedstrøms kildeområde) |
| Org. stof i sediment |
Ikke målt |
| Redoxforhold |
Sandsynligvis overvejende anaerob, men også aerobt |
| Ilt |
3-8 mg/l (evt. påvirket af prøvetagning pga. langsom tilstrømning
til boring) |
| Nitrat |
<1 - 3 mg/l |
| Sulfat |
87-173 mg/l |
| Opløst jern |
<0,01 - 1,3 mg/l |
| Methan |
<0,001 - 0,012 mg/l |
| Redoxpotentiale |
21 - 249 mV |
| NVOC |
3,3 - 3,8 mg/l |
| pH |
7,4 - 7,7 |
| Bicarbonat |
421 - 438 mg/l |
| Ionstyrke (ledningsevne) |
90 - 104 mS/m |
| Logistiske faktorer |
|
| Adgangsforhold |
Middel: Kildeområde ligger under bygninger. Største del af fane
ligger i villahaver |
| Tekniker |
Ingen, men lokalitet ligger i byområde |
| Eks. pump & threat |
Nej |
| Elektricitet, vand, sanitet |
Ja |
| Afstand til bygninger |
Kildeområde ligger under bygninger. Fane ligger udenfor bygninger |
| Afstand til indvindings-boringer og recipienter |
Vandindvinding (Tyrekrogværket): 750 m. Vandværket ligger opstrøms.Recipient
(Bybækken) : 250 m |
Screeningsdata
Klik her for at se tabellen.
Appendiks F.3 Dalumvej 22-28, Odense
Vurdering
Dalumvej 22-28 er et tidligere renseri for en stor del af jordforureningen er bortgravet i forbindelse med nybyggeri.
Der er gennemført en detaljeret undersøgelse af forureningsudbredelsen og af de geologiske/hydrogeologiske forhold både horisontalt og vertikalt. Forureningsfanen i nedstrøms retning går sammen med
fanen fra Dalumvej 34B. PCE forureningen forekommer både i moræneleren og i det udbredte sandlag (øvre sekundære magasin).
De geokemiske forhold er ikke de mest gunstige for reduktiv deklorering, hvorfor der ikke ses så stor en naturlig nedbrydning. De udførte analyser viser anaerobe forhold, men det kan ikke udelukkes, at
der også kan forekomme aerobe forhold. Hovedkomponenten er PCE og i mindre grad nedbrydningsprodukterne cDCE og VC. Der er ikke påvist ethen/ethan.
Indholdet af NVOC er ubetydeligt, hvilket indikerer mangel på elektrondonorer for reduktiv deklorering for naturlig nedbrydning.
Det primære kildeområde ligger på et parkeringsareal, og der er god adgang til området. Området er dog en del befærdet, hvilket kan vanskeliggøre arbejdet. I nedstrøms retning strømmer fanen under en
større bygning (posthus) og videre til villakvarter med haver/beboelse. Ved tilsætning af elektrondonorer skal evt. indtrængning af methan og VC vurderes.
Behandling af kildeområdet i moræneler kan være vanskeligt på grund af den lave permeabilitet. Behandlingsområdet er dog relativt lille vil gøre direkte injektion af elektrondonorer mm. attraktivt (et passivt
system med langtsomtfrigivende donorer).
Oprensningen i det øvre sekundære magasin vil være nemmere pga. den gode permeabilitet. Aktive systemer kan herved være en mulighed.
Lokaliteten er en god kandidat for fase 2 undersøgelser:
- Der er et lille kildeområde i moræneler tilbage, hvor en passiv metode kan afprøves.
- I det sekundære magasin er der en god permeabilitet, hvilket muliggør anvendelse af aktive systemer.
- De geokemiske forhold er ikke de mest gunstige. Lokaliteten kan derfor være en god testlokalitet for at undersøge, om reduktiv deklorering kan gennemføres på en svag anaerob lokalitet - hvor der i
forvejen kun er sket en mindre naturlig nedbrydning.
Konceptuel model

Foto

| Datablad |
| Basisoplysninger |
|
| Lokalitet |
Dalumvej 28, Odense. Forurenet lokalitet nr. 461-114 |
| Adresse |
Dalumvej 28, 5260 Odense S |
| Matr. nr. |
nr. 1 ce, Kristiandal Hgd., Dalum |
| Forureningsaktivitet |
Renseri: 1965-1975, Autoværksted: 1960-61 (dog ingen forurening herfra) |
| Nuværende arealanvendelse |
Butiksejendom. Opført i 1983. Tidligere renseri nedrevet. |
| Risikoforhold |
Grundvand, indeklima |
| Undersøgelsesrapporter |
Forureningsundersøgelse. Affaldsdepot nr. 461-114, Dalumvej 28, Rekordrens.
November 1996.
Supplerende forureningsundersøgelse. Dalumvej 28 og nabogrunde, Odense Kommune. Lokalitet nr. 461-114. Januar 2002.
|
| Tidligere afværge |
Ved opførsel af butiksejendom blev der afgravet ca. 3,5 m på
dele af ejendommen |
| Indsatsområde for afværge |
Øvre sekundære magasin. Herudover evt. kildeområdet over
det øvre sekundære magasin.
Nedre sekundære magasin, som træffes ca. 15 m u.t. med en tykkelse på ca. 1 m, er kun svagt forurenet. Derfor ingen afværgeindsats her.
|
| Indsatsområde for screening |
Øvre sekundære magasin |
| Geologi og hydrogeologi |
|
| Geologi |
Moræneler ned til ca. 35 m's dybde med indslag af sand og silt. Sandlagene
har en tykkelse på 1-2½ m. |
| Relevante magasiner for oprensning |
Øvre sekundære magasin: Sand, 1-2,5 m tykt, 5-9 m u.t. |
| Sediment |
Sand: fin groft |
| Magasintype |
Spændt |
| Grundvandsspejl |
ca. 3 m u.t. |
| Strømningsretning |
øst-nordøstlig |
| Hydraulisk ledningsevne |
Øvre: Prøvepumpning fra B18. T = 7,5 x 10-5 m2/s,
lagtykkelse 1,5 m. Den hydrauliske ledningsevne kan herudfra beregnes til ca.
5 x 10-5 m/s. |
| Gradient |
1 % |
| Porevandshastighed |
45 m/år |
| Forureningsprofil |
|
| Jordforurening |
Restforureningen er hovedsageligt knyttet til morænelersaflejringerne
i kildeområderne. Der er svage tegn på residual fri fase.
Hovedkilde:Det primære kildeområde ved B18 udgør ca. 110 m2 og den kraftigste forurening findes fra 3,5 til 6,5 m's dybde. PCE: 54 mg/kg, TCE: 0,3 mg/kg, ikke
betydende indhold af TCA og CM. Mængde: ca. 35 kg PCE + evt. fri fase.
Den væsentligste forurening findes i den mættede zone (>90 %).
Sekundære kildeområder:
Ved V1 er der fra 4-6 m's dybde (mættet zone) i et område på ca. 20 m2 ca. 4 kg PCE. Koncentration ca. 1-10 mg PCE/kg.
Under kældergulv på Dalumvej 28 er der i et 50 m2 område fra 3-6 m u.t. ca. 2 kg PCE (mættet zone). Koncentration < 10 mg/kg.
|
| Poreluft |
PCE: 2000 mg/m3, TCE: 0,2 mg/m3.
Udstrækning på mindst 20.000 m2.
|
| Grundvand (sek. magasin) |
PCE: 56.000 μg/l, TCE: 1.600 μg/l, DCE: 640 μg/l, VC: 20 μg/l. Dog kun meget få
analyser af VC og DCE i fane.
Grundvand: ca. 4 kg PCE opløst i grundvandet
|
| Faneudbredelse |
Faneudbredelse:
>1000 μg/l: 150 m lang, 30-50 m bred> 10 μg/l: ca. 200 m lang, 50-100 bred. Fanen går sammen med fane fra Dalumvej 34b
|
| Ethen |
< 10 μg/l |
| Øvrige forureningskomponenter |
Ingen |
| Geokemisk profil |
|
| Org. stof i sediment (%) |
0,03-0,05 %. Flest målinger i moræneler, men også enkelte
i sand (ca. 0,4 %) |
| Redoxforhold |
Nitrat-jernreducerende |
| Ilt (mg/l) |
<1 mg/l |
| Nitrat (mg/l) |
<1 - 4 mg/l |
| Sulfat (mg/l) |
45 - 140 |
| Opløst jern (mg/l) |
<0,01 - 1,7 mg/l |
| Methan (mg/l) |
1 måling: 1,8 mg/l (evt. fejlmåling?) |
| Redoxpotentiale (mv) |
-53 - 143 |
| NVOC (mg/l) |
1,3 - 2 |
| pH |
7-7,5 |
| Bicarbonat (mg/l) |
302 - 458 |
| Ledningsevne (ms/m) |
80 - 120 |
| Logistiske faktorer |
|
| Adgangsforhold |
Rimelige. Hotspot ubebygget. Dog sekundære hotpsot som ligger under
bygning. |
| Tekniker |
Nej, men lokalitet ligger i byområde |
| Eks. pump & threat |
Nej |
| Elektricitet, vand, sanitet |
Ja |
| Afstand til bygninger |
< 10 m. Sekundære hotspot ligger under bygning |
| Afstand til indvindings-boringer og recipienter |
Indvinding til Eksercermarken kildeplads: 1300 m
Recpient: Odense Å ligger ca. 400 m fra lokaliteten
|
Resultat af screening
Klik her for at se tabellen.
Appendiks F.4 Dalumvej 34B, Odense
Vurdering
Indsatsområdet er det terrænnære grundvand nedstrøms kildeområdet (moræneler med sandstriber/-lag). PCE er den dominerende forureningskomponent med maximale koncentration i kildeområdet på ca.
50.000 μg/l. Fanen er udbredt ca. 200 m fra lokaliteten og går her sammen med forureningsfanen fra Dalumvej 22-28 (lokalitet nr. 3). Jord- og grundvandsforureningen er afgrænset horisontalt og vertikalt.
Dog er oplysningerne sparsomme midt i forureningsfanen.
Kildeområdet og området umiddelbart nedstrøms herfor er oprenset ved en kombination af afgravning og kemisk oxidation med kaliumpermanganat. Oprensningen blev igangsat i 2002, og den kemiske
oxidation forløber stadig.
Indsatsområdet for reduktiv deklorering er derfor området nedstrøms kildegrunden, i den del af fanen som ikke oprenses med kemisk oxidation. Der er tale om moræneler med sandindslag. Det vurderes, at
forureningen overvejende er spredt i sandstriber i moræneleren.
Grundvandsprøver udtaget før oprensningen med kemisk oxidation indikerer, at reduktiv deklorering foregik – idet der er fundet indhold af cDCE og VC. Der er ikke målt for ethen. Redoxforholdene er
ikke særligt godt belyst men il™ålinger (fel™ålinger) indikerer, at der er anaerobe forhold. Den igangsatte kemiske oxidation har dog sandsynligvis ændret redoxforholdene så de nu er aerobe i kildeområdet
og umiddelbart nedstrøms herfor.
Adgang til indsatsområdet nedstrøms kildeområdet er vanskelige, idet fanen ligger under flere villahaver og enkelte bygninger (villaer).
Lokaliteten vurderes derfor ikke at være en af de mest egnede grunde for fase 2 undersøgelser ud fra følgende betragtninger:
- Forureningsfanen er relativ stor. Forholdene centralt i fanen er ikke belyst
- Adgangsforholdene er vanskelige – mange grundejere skal involveres
- De hydrogeologiske forhold er meget inhomogene og det vil være vanskeligt at levere elektrondonorer
- Den igangsatte kemiske oxidation kan påvirke redoxforholdene for den reduktive deklorering. Igangsætning af den reduktive deklorering bør af hensyn til den kemiske oxidation først påbegyndes når
permanganaten er opbrugt.
Det skal dog bemærkes, at det i Nordamerika ikke er ualmindeligt at anvende stimuleret in situ reduktiv deklorering som en sidste efterpolering efter kemisk oxidation.
Konceptuel model

Foto

| Datablad |
| Basisdata |
|
| Lokalitet |
Dalumvej 34B, Odense. Forurenet lokalitet nr. 461-114 |
| Adresse |
Dalumvej 34B, 5250 Odense SV |
| Matr. nr. |
1-x, Kristiandal Hgd., Dalum |
| Forureningsaktivitet |
Renseri: 1955 - eksisterende |
| Nuværende arealanvendelse |
Renseri |
| Risikoforhold |
Indeklima, grundvand |
| Undersøgelsesrapporter |
Forureningsundersøgelse. Affaldsdepot nr. 461-115, Dalumvej 34B, Odense
Kommune. Juni 1999.
Supplerende forureningsundersøgelse. Affaldsdepot nr. 461-115, Dalumvej 34B, Odense Kommune. Marts 2000.
Supplerende forureningsundersøgelse. Dalumvej 34B, Dalum, Odense SV. Forurenet lokalitet nr. 461-115. Maj 2001.
Supplerende forureningsundersøgelse. Dalumvej 34B, Dalum, Odense SV. Lokalitet nr. 461-115. August 2001
|
| Tidligere afværge |
Kildeområdet bortgravet. Restforurening i mættet zone på
kildegrund oprenses ved kemisk oxidation med permanganat. Oprensning i mættet
zone ikke afsluttet. |
| Indsatsområde for afværge |
Grundvandsfane nedstrøms Dalumvej 34B (ikke selve kildegrunden da den
er påvirket af den kemiske oxidation) |
| Geologi og hydrogeologi |
| Geologi |
Moræneler ned til ca. 25 m's dybde med indslag af tynde sand- og siltlag
af varierende tykkelse. Sandlagene i moræneleren findes dels som små
isolerede sandlinser og dels som tynde sandstriber med en vis udbredelse. |
| Relevante magasiner for oprensning |
Terrænnære grundvand som er knyttet til moræneleren. Ca.
ned til 10 m's dybde. |
| Sediment |
Moræneler med tynde indslag af sand og silt |
| Magasintype |
Spændt |
| Grundvandsspejl |
Ca. 2-4 m u.t |
| Strømningsretning |
Nordøst |
| Hydraulisk ledningsevne |
Meget varierende. På baggrund af slugtest i kildeområdet er der
fundet følgende interval: 4,8-10-6 til 8,4 x 10-7
m/s med et gennemsnit på 2 x 10-6 m/s.Nedstrøms kildegrunden
er der fundet en højere ledningsevne i et terrænnært sandlag
på 4x10-5 m/s. Dette vurderes dog kun repræsentativt for
sandlaget og ikke moræneleren. |
| Gradient |
4,5 % i kildeområde og 1,9 % nedstrøms kildeområde |
| Porevandshastighed |
Ca. 10 m i kildeområde og 4-80 m nedstrøms kildegrund |
| Forureningsprofil |
| Jordforurening |
PCE: op til 50 mg/kg (før oprensningt) |
| Poreluft |
Op til 2000 mg PCE/m3 (før oprensning) |
| Grundvand (sek. magasin) |
I kildeområdet var der fundet op til 58.000 μg PCE/l. Dette område
oprenses nu med kemisk oxidation.I nedstrøms retning ved B13 vurderes forureningsindholdet
at være: PCE: 1.000-10.000 μg/l, TCE: 100 μg/l, cDCE: 90 μg/l,
VC: 20 μg/l (evt. indsatsområde for reduktiv deklorering) |
| Faneudbredelse |
>10 ug/l: ca. 200 m lang og 60 m bred
1000 μg/l: 150 m lang og 40 m bred
|
| Forureningsmængder |
Fane (indsatsområde): Groft skøn er ca. 20-50 kg PCE |
| Ethen |
Ikke målt |
| Øvrige forureningskomponenter |
Ingen |
| Geokemisk profil |
| Org. stof i sediment (%) |
0,05-0,1 % |
| Redoxforhold |
Ikke undersøgt |
| Ilt (mg/l) |
Fel™ålinger: 0,5-7 mg/l. Meget stor variation som sandsynligvis
skyldes påvirkning af prøvetagningen. |
| Nitrat (mg/l) |
Ingen oplysninger |
| Sulfat (mg/l) |
Ingen oplysninger |
| Opløst jern (mg/l) |
Ingen oplysninger |
| Methan (mg/l) |
Ingen oplysninger |
| Redoxpotentiale (mv) |
Ingen oplysninger |
| NVOC (mg/l) |
Ingen oplysninger |
| pH |
Fel™ålinger: pH 7-7,5 |
| Bicarbonat (mg/l) |
Ingen oplysninger |
| Ledningsevne (ms/m) |
Fel™ålinger: Typisk 50-80 mS/m |
| Logistiske faktorer |
| Adgangsforhold |
Middel-dårlige: En del af fanen ligger under bygninger (Lykkeshåbsalle
4-6). Resterende del af fane ligger i villahaver |
| Tekniker |
Ja i forbindelse med oprensning med kemisk oxidation i kildeområde |
| Eks. pump & threat |
Nej |
| Elektricitet, vand, sanitet |
Ja |
| Afstand til bygninger |
Del af fane ligger under bygninger |
| Afstand til indvindings-boringer og recipienter |
Odense Å: 400 mNærmeste vandindvinding: > 1 km |
Resultat af screening
Klik her for at se tabellen.
Appendiks F.5 Dalumvej 62, Odense
Vurdering
Lokaliteten er et tidligere renseri, hvor kildeområdet ligger under den tidligere renseribygning. En relativ smal PCE-forureningsfane strømmer i et højpermeabelt sekundært magasin af sand og grus.
Behandlingsområdet udgør ca. 30 x 60 m. Jord- og grundvandsforureningen er godt undersøgt både horisontalt og vertikalt. Fanen er dog ikke fuldstændig afgrænset i nedstrøms retning.
De geokemiske data er ikke gunstige for reduktiv deklorering. Der er højt ilt - og nitratindhold i grundvandet. I overensstemmelse hermed er der ikke fundet noget betydeligt indhold af
nedbrydningsprodukterne cDCE og VC. Tidsforløbet for et projekt med reduktiv deklorering kan derfor være relativ langt før at magasinet bliver tilpasset de anaerobe processer. Bioaugmentation på denne
lokalitet vil sandsynligvis være nødvendig.
NVOC indholdet er ligeledes lavt - hvilket medfører, at der ikke er nogen betydelig kulstofkilde til naturlig nedbrydning af PCE.
De hydrogeologiske forhold er attraktive for et afværgeprojekt med stimuleret reduktiv deklorering. Den høje permeabilitet i det sekundære magasin er velegnet til en effektiv levering og spredning af
elektrondonorer og bakteriekulturer (hvis nødvendigt).
Både aktive og passive metoder vurderes at kunne anvendes på lokaliteten.
Kildeområdet og en del af fanen ligger under bygninger. Derfor er adgangsforholdene relativt vanskelige. Herudover skal migration af methan og VC til bygninger tages i betragtning.
Konceptuel model

Foto

| Datablad |
|
| Basisdata |
|
| Lokalitet |
Dalumvej 62, Odense |
| Adresse |
Dalumvej 62, 5250 Odense SV |
| Matr. nr. |
1 bd, Kristiansdal Hgd., Dalum |
| Forureningsaktivitet |
Renseri: 1972 - 1995 |
| Nuværende arealanvendelse |
Farvehandel, beboelse |
| Risikoforhold |
Indeklima, grundvand |
| Undersøgelsesrapporter |
Forureningsundersøgelse. Affaldsdepot nr. 461-116, Renseri, Dalumvej
62, Odense, Odense Kommune. Maj 1999.
Supplerende forureningsundersøgelse. Affaldsdepot nr. 461-116, Renseri, Dalumvej 62, Odense, Odense Kommune. December 1999.
Supplerende forureningsundersøgelse. Dalumvej 62, Odense SV. Lokalitet nr. 461-62. September 2001.
|
| Tidligere afværge |
Ingen |
| Indsatsområde for afværge |
Grundvand, øvre del af sekundære magasin |
| Geologi og hydrogeologi |
|
| Geologi |
Øverst 0,5-1 m fyld, efterfulgt af moræneler med mægtighed
op til 4 m. Moræneler underlejres af smeltevandssand med en mægtighed
op til 10 m. Flere steder er der indslag af moræneler i sandlaget - i nedstrøms
retning øges tykkelsen af moræneleret og sandlaget opdeles i 2 dele
med moræneler i midten. Sandlaget underlejres af moræneler til mindst
20 m's dybde. |
| Relevante magasiner for oprensning |
Sekundære magasin fra ca. 4 -14 m's dybde (dog kun den øvre del
da forureningen er knyttet hertil) |
| Sediment |
Vekslende sand og grus |
| Magasintype |
Spændt |
| Grundvandsspejl |
Ca. 3 m u.t. |
| Strømningsretning |
Nordøst |
| Hydraulisk ledningsevne |
Gns. 1x10-4 m/s (varierer fra 5,6 x 10-5 m/s til 2 x
10-4 m/s) |
| Gradient |
0,8 % |
| Porevandshastighed |
Angivet til 33 m/år (måske underestimeret, idet der er er høj
permeabilitet?) |
| Forureningsprofil |
|
| Jordforurening |
PCE indhold op til 9,8 mg/kg TS. De højeste koncentrationer findes
i den umættede zone omkring 0,5-1,5 m's dybde. Forureningsmængde ikke
opgjort men kan være i størrelsesorden 1-10 kg. |
| Poreluft |
PCE indhold op til 1.100 mg/m3. |
| Grundvand (sek. magasin) |
PCE: 1.100 μg/l, TCE: 4, cDCE: 5, VC: <0,2 |
| Faneudbredelse |
ca. 100 m |
| Forureningsmængder |
Ikke angivet men i størrelsesorden 1 kg opløst i grundvandet |
| Ethen |
Ikke målt, men findes med stor sandsynlighed ikke pga. aerobe forhold. |
| Øvrige forureningskomponenter |
Ingen |
| Geokemisk profil |
|
| Org. stof i sediment (%) |
Ikke målt |
| Redoxforhold |
Aerobt |
| Ilt (mg/l) |
3,2 |
| Nitrat (mg/l) |
33 |
| Sulfat (mg/l) |
31 |
| Opløst jern (mg/l) |
<0,01 |
| Methan (mg/l) |
Ikke målt, men findes med stor sandsynlighed ikke pga. aerobe forhold |
| Redoxpotentiale (mv) |
200 |
| NVOC (mg/l) |
3 |
| pH |
7,1 |
| Bicarbonat (mg/l) |
380 |
| Ledningsevne (ms/m) |
76 |
| Logistiske faktorer |
|
| Adgangsforhold |
Middel: del af kildeområde og fane ligger under bygning |
| Tekniker |
Ingen men lokalitet ligger i byområde |
| Eks. pump & threat |
Nej |
| Elektricitet, vand, sanitet |
Ja |
| Afstand til bygninger |
0 m |
| Afstand til indvindings-boringer og recipienter |
Odense Å: 500 m>1 km |
Resultat af screening
Klik her for at se tabellen.
Appendiks F.6 Middelfartvej 126, Odense
Vurdering
Der er udført en meget grundig forureningsundersøgelse med vertikal og horisontal afgrænsning af forureningen i både jord og grundvand.
Der pågår pt. treatability studier for at vurdere, om kemisk oxidation eller reduktiv deklorering kan anvendes som afværgemetode.
Spredningen af PCE er sket i det sekundære magasin i en afstand på ca. 300 –350 m fra kildegrunden. Resultaterne fra undersøgelsen viser en nogenlunde stabil udbredelse i fanen over årene.
Der sker en vis reduktiv deklorering med indhold af cDCE på 4.444 μg/l. VC er også påvist men i meget lavere koncentrationer. Nedbrydningsprodukterne er især fundet ved kildeområdet og er ikke så
udpræget nedstrøms i fanen.
De geokemiske data er gunstige for reduktiv deklorering med lavt indhold af ilt (dog en del variationer i indholdene) og nitrat. Der er fundet opløst jern men ikke methan. Det lave indhold af NVOC
indikerer, at den naturlige nedbrydning af PCE er begrænset af organisk stof (elektrondonor).
Adgangsforholdene er gode på selve kildegrunden. Men en stor del af fanen ligger under et villaområde med mange grundejere - hvilket kan vanskeliggøre oprensningsarbejdet.
Gennemgående er lokaliteten velegnet til at indgå i fase 2. Specielt det sekundære magasin vil være velegnet til at afprøve både passive og aktive afværgesystemer. Derimod vil behandling af kildeområderne i
moræneler(den mættede zone) være vanskeligt på grund af den lave permeabilitet. Behandlingsområdet er dog forholdsvis lille, hvilket vil gøre direkte injektion af elektrondonorer mm. attraktivt (et passivt
system med langtsomtfrigivende donorer).
Konceptuel model

Foto

| Datablad |
| Basisdata |
|
| Lokalitet |
Middelfartvej 126, Odense. Forurenet lokalitet nr. 461-123 |
| Adresse |
Middelfartvej 126, 5200 Odense V |
| Matr. nr. |
8 ø, Bolbro |
| Grundejer |
Fyns Amt, Ørbækvej 100, 5220 Odense SØ (opkøbt
i 2002) |
| Forureningsaktivitet |
Renseri: 1964 – 1989. Desuden cykel- og autoværksted. Driftperiode
ikke oplyst |
| Forureningskilder |
Spild ved oplag og brug af rensevæske (udendørs og indendørs).
Desuden udsivning gennem kloak. |
| Nuværende arealanvendelse |
Ubebygget. Bygninger nedrevet 2002 |
| Risikoforhold |
Grundvand, herunder nærliggende vandindvinding |
| Undersøgelsesrapporter |
Forureningsundersøgelse. Affaldsdepot nr. 461-123, Tidligere renseri,
Middelfartvej 126, Odense Kommune. Hovedrapport. Februar 1999.
Forureningsundersøgelse. Affaldsdepot nr. 461-123, Tidligere renseri, Middelfartvej 126, Odense Kommune. Bilagsrapport. Februar 1999.
Afværgeprogram og projektforslag. Affaldsdepot nr. 461-123, Tidligere renseri, Middelfartvej 126, Odense Kommune. Juli 1999.
Foreløbigt tryk af Monitering nr. 1 af forureningsfane i grundvand. Modellering af forureningsspredning. Affaldsdepot nr. 461-123, Middelfartvej 126, Odense. August
2001.
Notat. Forureningsunderøgelser – delprojekt 1. Tidligere renseri, Middelfartvej 126, Odense, 19. marts 2003.
|
| Tidligere afværge |
Bygninger nedrevet. Der pågår undersøgelse af mulige afværge
med opboring, kemisk oxidation og reduktiv deklorering. |
| Indsatsområde for afværge |
Sekundære magasin.
Evt. kildeområdet med jordforurening (moræneler) i den mættede zone ned til ca. 10 m's dybde
|
| Geologi og hydrogeologi |
|
| Geologi |
Øverst ½-1 m fyld, herunder moræneler med sand- og siltindslag
til 7-11 m's dybde, herunder udbredt lag af smeltevandssand med en mægtighed
på 1-7 m (sekundære magasin). Størst tykkelse nedstrøms
i fanen. Underlejres af moræneler med sandindslag. |
| Relevante magasiner for oprensning |
Grundvandsforureningen er udbredt i det sekundære magasin som udgøres
af smeltevandssand. Tykkelse på 1-7 m. |
| Sediment |
Sand: typisk mellem til groft |
| Magasintype |
Spændt |
| Grundvandsspejl |
På kildegrund: 4,5-6 m u.t. Varierer over året. |
| Strømningsretning |
Sydøst |
| Hydraulisk ledningsevne |
Ikke udført prøvepumpning. Ud fra kornstørrelse vurderes
den hydrauliske ledningsevne omkring 5 x 10-5 m/s (mellemkornet sand) |
| Gradient |
Ca. 8 promille. Varierer dog hen over året. |
| Porevandshastighed |
20 m/år ifølge de gennemførte undersøgelser. Ud
fra kornstørrelse og gradient burde strømningshastigheden dog være
noget højere (ca. 50 m/år) |
| Forureningsprofil |
|
| Jordforurening |
PCE: 59 mg/kg, TCE: 1,4 mg/kg, TCA: <0,1 mg/kg, CM: <0,1 mg/kg
3 kildeområder: 1): Under rensebygning: ca. 150 m2, med kraftigste forurening fra 2,5-7,5 m's dybde, PCE < 17 mg/kg, evt. fri fase
2): Under hovedkloak, Lundgårdsvej: ca. 50 m2, ned til 2,5-3,5 m's dybde: PCE < 17 mg/kg.
3): Skel ved Middelfartvej 124 og Lundgårdsvej 4: ca. 100 m2, fra terræn og ned til 11 m's dybde, PCE: 59 mg/kg
Mængde: > 18 kg + evt. fri fase
|
| Poreluft |
PCE: 540 mg/m3, TCE: 10 mg/m3, DCE, 19 mg/m3 |
| Grundvand |
PCE : <18.000 μg/l, TCE: <2500 μg/l, cDCE: <200μg/l, VC: <45 μg/l,
TCAog CM: 1 g/l. Højeste konc. i porevand i kildeområdet. I det udbredte
sek. magasin er indholdet af klorerede opløsningsmidler typisk under 5000
g/l |
| Faneudbredelse |
Horisontal:
>1000 μg/l: 200 m lang og 50 m bred. >10 μg/l: 300-350 m lang og 100 m bred
Vertikal spredning: Ved kildeområdet ca. 10-15 m u.t.. Nedstrøms i fanen ca. 15-20 m u.t.
|
| Ethen i grundvand |
Ikke oplyst |
| VC fane |
Nedstrøms i fanen er der ikke fundet indhold af VC over detektionsgrænsen |
| DCE fane |
I fanen er der kun fundet lave indhold af DCE. De højeste indhold af
DCE er fundet på kildegrunden. I den nedstrøms del af fanen er PCE
og TCE de dominerende komponenter. |
| Øvrige forureningskomponenter i grundvand |
Ingen |
| Geokemisk profil |
|
| Org. stof i sediment |
Ingen målinger |
| Redoxforhold |
Nitrat-jernreducerende i sekundære magasin |
| Ilt |
< 1,5 mg/l |
| Nitrat |
typisk < 1 mg/l i sekundære magasin |
| Sulfat |
160-240 mg/l. Forhøjet indhold evt. pga. pyritoxidation. |
| Opløst jern |
Typisk > 1 mg/l. Dog flere meget høje jernindhold som vurderes at
være fejlmålinger, da prøverne ikke er filtreret i felten. |
| Methan |
Fundet op til 0,07 mg/l |
| Redoxpotentiale |
Typisk +100 til –100 mV |
| NVOC |
1,5 – 4 mg/l |
| pH |
7 - 7,5 |
| Bicarbonat |
400 – 500 mg/l |
| Ionstyrke (ledningsevne) |
Typisk 100 – 200 mS/m |
| Logistiske faktorer |
|
| Adgangsforhold |
Gode. Bygninger nedrevet på kildegrund |
| Tekniker |
OK |
| Eks. pump & threat |
Nej, men mange moniteringsboringer |
| Elektricitet, vand, sanitet |
Kan nemt etableres idet elledninger findes i vej |
| Afstand til bygninger |
Ingen bygninger på kildegrund |
| Afstand til indvindings-boringer og recipienter |
Eksercermarke Kildeplads: 500 mOdense Å: 2 km |
Resultat af screening
Klik her for at se tabellen.
Appendiks F.7 Sanderumvej 113, Odense
Vurdering
Der er sket forurening af et terrænnært sekundært magasin med en udbredelse på ca. 80 m. Herudover er der sket en forurening af et underliggende primært magasin. I dette magasin er der fundet ca. 350
μg/l af TCE/PCE 200 m fra kildeområdet. Forureningen er ikke afgrænset horisontalt. Supplerende undersøgelser pågår.
Det vurderes indledningsvist at være urealistisk at oprense forureningen i det primære magasin med stimuleret in situ reduktiv deklorering på grund af den store horisontale og vertikale udbredelse. Desuden
er forureningskoncentrationen i det primære magasin for lille til at vurdere effekten af afværgemetoden.
Screeningen er derfor kun gennemført på det sekundære magasin.
Forureningsudbredelsen er rimeligt kortlagt i det sekundære magasin. Der mangler dog oplysninger om nedbrydningsprodukter i fanen.
Desuden er der ingen oplysninger om geokemiske forhold i det sekundære magasin – hvorfor det ikke vides, om der er aerobe eller anaerobe forhold.
Adgangsforholdene for det sekundære magasin er rimelige. Kildeområdet ligger uden for bygninger men en betydelig del af fanen ligger under bygninger. Migration af methan og VC bør derfor tages med i
betragtning, idet grundvandspejlet står tæt på terræn.
Tilsætning af elektrondonorer er vanskelige i de lavpermeable aflejringer. Direkte injektion af en langtsomtfrigivende elektrondonor er derfor mest oplagte afværgemetode.
Konceptuel model

Foto

Forureningen i det primære magasin (blå farve) er ikke endelig fastlagt. Forurening i sekundære magasin er markeret med rødt.
| Datablad |
| Basisoplysninger |
|
| Lokalitet |
Sanderumvej 113, Odense. Forurenet lokalitet nr. 461-124 |
| Adresse |
Sanderumvej 113, 5250 Odense SV |
| Matr. nr. |
|
| Forureningsaktivitet |
Maskinfabrik: 1953-1980 |
| Forureningskilder |
Affedtning med TCE i trigrube. Udsivning fra kloakker. |
| Nuværende arealanvendelse |
Erhverv, lager, bolig |
| Risikoforhold |
Grundvand |
| Undersøgelsesrapporter |
Forureningsundersøgelse. Affaldsdepot nr. 461-124, Sanderumvej 113,
Galvaniseringsvirksomhed. September 1998.
Supplerende undersøgelse er igangsat 2002. Datanotat udleveret til COWI.
|
| Tidligere afværge |
Ingen |
| Indsatsområde for afværge |
1. Jord- og grundvandsforurening i sekundære magasin (moræneler
2-5 m u.t.)
2. Grundvandsforurening i primære magasin (sand 7-15 m u.t.)
|
| Indsatsområde for screening |
1. Jord og grundvandsforurening i sekundære magasin.
Det primære magasin vurderes ikke realistisk at oprense med stimuleret reduktiv deklorering pga. stor horisontal og vertikal udbredelse samt lavt forureningsniveau.
|
| Geologi og hydrogeologi |
|
| Geologi |
Kote 27-29 m. Øverst 0,6 – 1,8 m fyld. Herunder sandet moræneler
til ca. 9 m u.t. (med indslag af vekslende smeltevandsaflejringer af ler og sand.
Herunder et udbredt sandlag af smeltevandsaflejringer med en tykkelse på
ca. 10 m. |
| Relevante magasiner for oprensning |
Sekundære magasin: Sandet moræneler med tynde sandlag, typisk
fra 2-5 m u.t.Primære magasin: Smeltevandsaflejringer af sand fra ca. 9
m u.t. med en tykkelse på ca. 10 m. I nedstrøms retning findes sandlaget
fra ca. 6-7 m's dybde. |
| Magasintype |
Sekundære magasin: spændtPrimære magasin: spændt |
| Grundvandsspejl |
Sekundære magasin: 1 – 3 m u.t.Primære magasin: 2 –
4 m u.t.
Der er nedadrettet gradient fra sekundære til primære magasin
|
| Strømningsretning |
Sekundære: nordlig mod søPrimære: Nordøst |
| Hydraulisk ledningsevne |
Sekundære magasin: Vil varierer meget (moræneler med sandstriber)
1x10-8 til 1x 10-5 m/s
Primære magasin: Forskellige oplysninger: 2x 10-3 til 2 x 10-4 m/s. Vurderet ud fra prøvepumpning.
|
| Gradient |
ca. 1 % |
| Porevandshastighed |
Sekundære magasin: Ingen oplysninger.
Primære magasin: Forskellige oplysninger: 65-500 m/år
|
| Forureningsprofil |
|
| Jordforurening |
Flere kildeområder:
1): Ved trigrube: PCE: 13 mg/kg, TCE: 10 mg/kg (i 6 m's dybde)
2): udsivning fra kloakker ved B21 ved anodediseringsrum: PCE: 1,8 mg/kg, TCE: 0,2 mg/kg (2 m'' dybde svarende til grundvandsspejlet).
Langt den største forureningsmasse vurderes at være ved kildeområde 1.
Over 90 % af forureningsmassen vurderes at være under grundvandsspejlet. Der er ikke udarbejdet overslag over forureningsmassen med klorerede opløsningsmidler.
|
| Poreluft |
PCE: 25 mg/m3, TCE: 22 mg/m3 |
| Grundvand |
Sekundære magasin: PCE: 2900 μg/l, TCE: 6700 μg/l, DCE: 1,6, VC: 0,4 (kun
2 analyser af nedbrydningsprodukter)
Primære magasin: PCE: 370, TCE: 380 μg/l, cDCE: 490 μg/l, VC: 26 ug/l
Forureningsmasse Sekundære magasin ca. 13 kg klorerede opløsningsmidler. Mængde i det primære magasin ikke opgjort men skønnes til mindst 20 kg.
|
| Faneudbredelse |
Sekundære: >100 μg/l: Ca. 90 m lang og 40 m bredPrimære: Forurening
ikke afgrænset: Det ser ud til at være 2 faner, evt. fra de 2 kildeområder.
Fanen er ikke afgrænset så udbredelsen af fanen kendes ikke. 200 m
fra kildeområdet er der fundet ca. 350 g/l som sum af klorerede opløsningsmidler
(primært TCE og PCE).
Vertikalt dykker fanen i nedstrøms retning. I kildeområdet og umiddelbart nedstrøms er forureningen knyttet til de øverste ca. 5 m af det primære magasin. Længere
nedstrøms (200 m) er forureningen udbredt i hele magasinet.
|
| Ethen i grundvand |
Ikke målt |
| VC i fane |
Sekundære magasin: ikke belyst
Primære magasin: nedbrydningsforholdene i fanen varierer meget. Intet entydigt billede.
|
| DCE i fane |
Sekundære magasin: ikke belystPrimære magasin: nedbrydningsforholdene
i fanen varierer meget. Intet entydigt billede. |
| Øvrige forureningskomponenter i grundvand |
Der er fundet en svag kulbrinteforurening i grundvandet (under 100 ug/l).
I poreluften er der fundet kulbrinter op til 170 mg/m3 herunder 18 mg/m3 af xylener.
|
| Geokemisk profil |
Kun en enkelt analyse fra den nedre del af det primære magasin (Boringskontrol
fra B8). Ingen oplysninger fra det sekundære magasin. |
| Org. stof i sediment |
Ingen målinger |
| Redoxforhold |
Nitratreducerende med indhold af opløst jern (primære magasin) |
| Ilt |
0,4 mg/l |
| Nitrat |
1,4 mg/l |
| Sulfat |
73 mg/l |
| Opløst jern |
0,7 mg/l |
| Methan |
ingen analyse (sandsynligvis ikke noget indhold) |
| Redoxpotentiale |
Ikke målt |
| NVOC |
1,3 mg/l |
| pH |
7,2 |
| Bicarbonat |
294 mg/l |
| Ionstyrke (ledningsevne) |
66 mS/m |
| Logistiske faktorer |
|
| Adgangsforhold |
Blandet. I kildeområdet er en stor del af forureningen under eksisterende
bygninger. |
| Tekniker |
Nej |
| Eks. pump & threat |
Nej, men indvindingsboring findes på lokaliteten. |
| Elektricitet, vand, sanitet |
Ja |
| Afstand til bygninger |
0 |
| Afstand til indvindings-boringer og recipienter |
Eksercermarkens Kildeplads: 1900 m
Mikkels Mose: ca. 250 m
|
Resultat af screening
Klik her for at se tabellen.
Appendiks F.8 Rønnevej 13-15 Næsby
Vurdering
Forureningsudbredelsen og de hydrogeologiske forhold er ikke fuldt ud belyst nedstrøms kildeområdet.
Jordforureningen findes hovedsageligt i den umættede zone. Indsatsområdet for stimuleret in situ reduktiv deklorering er det sekundære magasin fra ca. 7-12 m's dybde, som består af sand og silt.
Der er kun få geokemiske data. Il™ålinger fra vandprøvetagningen viser iltede forhold. Det er i overensstemmelse med, at der stort set ikke er fundet nedbrydningsprodukterne cDCE og VC. Der sker
derfor ingen betydende reduktiv deklorering.
Adgangsforholdene er gode omkring kildeområdet (åben gård). En stor del af fanen ligger dog under bygninger, hvilket kan vanskeliggøre en oprensning med stimuleret reduktiv deklorering.
Ud fra gennemgangen kan følgende forhold fremhæves:
- Det sekundære magasin har en rimelig permeabilitet, hvilket muliggør levering og spredning af elektrondonorer mm.
- De geokemiske data er sparsomme hvorfor der skal udføres supplerende undersøgelser såfremt lokaliteten skal indgå i fase 2.
- Der sker ingen betydelig reduktiv deklorering pga. de iltede forhold, hvorfor lokaliteten kan være velegnet til forsøg med bioaugmentation.
Der kan sandsynligvis både anvendes passive og aktive systemer.
Konceptuel model

Foto

| Datablad |
| Basisoplysninger |
|
| Lokalitet |
Rønnevej 13-15, Næsby, Odense. Forurenet lokalitet nr. 461-159 |
| Adresse |
Rønnevej 13-15, Næsby, Odense Kommune |
| Matr. nr. |
3 bq, Næsby By, Næsby |
| Forureningsaktivitet |
Næsby Maskinfabrik: 1973-1990. |
| Forureningskilde |
TCE forurening ved affedtning af metalemner (trikar). |
| Nuværende arealanvendelse |
Erhverv og beboelse |
| Risikoforhold |
Grundvand. Nærliggende vandværksboring fra Rønnevejsværket
er påvirket med TCE, men indvinding er standset pga. pesticidforurening.
Der er ingen risiko mod eksisterende indvinding. |
| Undersøgelsesrapporter |
Forureningsundersøgelse. Rønnevej 13-15, Næsby, Odense
N, Odense Kommune. December 1999.
Supplerende forureningsundersøgelse. Lokalitet nr. 461-159, Rønnevej 13-15, Næsby, Odense N, Odense Kommune. April 2001
|
| Tidligere afværge |
Ingen |
| Indsatsområde for afværge |
Sekundære magasin (ca. 7-12 m u.t.)
Jordforurening er primært knyttet til umættet zone, og derfor ikke relevant for afværge med reduktiv deklorering
|
| Indsatsområde for screening |
Sekundære magasin, ca. 7-12 m u.t. |
| Geologi og hydrogeologi |
|
| Geologi |
Kote +11 m. Øverst 0,5-2,5 m fyld. Herunder 0,8-1,8 m moræneler/sand,
ca. 10 m vekslende smeltevandsaflejringer af silt og sand (typisk 1-5 m silt og
herunder op til 7 m sand). Under smeltevandsaflejringerne findes ca. 12 m moræneler
som underlejres af smeltevandssand fra ca. 26 m u.t. |
| Hydrogeologi |
|
| Relevante magasiner for oprensning |
Sekundære magasin. Træffes ca. 7 m u.t og med en tykkelse på
5 m i kildeområdet. I nedstrøms retning aftager sandlagets tykkelse. |
| Sediment |
Smeltevandsaflejringer af sand og silt |
| Magasintype |
Frit |
| Grundvandsspejl |
Ca. 7 m u.t. |
| Strømningsretning |
Nordøstlig |
| Hydraulisk ledningsevne |
Pumpeforsøg nedstrøms kildeområdet viser hydraulisk ledningsevne
på 1 x 10-6 m/s (siltede aflejringer). I kildeområdet som
er mere sandet er der ingen målinger af k-værdien, men her vurderes
den hydrauliske ledningsevne at være større. |
| Gradient |
Ca. 15 promille |
| Porevandshastighed |
Skønnet til 4 m/år i nedstrøms retning. I kildeområdet
vurders hastigheden dog at være noget større. |
| Grundvandstemperatur |
10-14 grader |
| Forureningsprofil |
|
| Jordforurening |
Jordforureningen findes hovedsageligt (>90 %) i den umættede zone
fra 1-7 m u.t. Dog fundet jordforurening ned til 9 m's dybde.
PCE: < 0,1 mg/kg, TCE: 95 mg/kg TS, CM: <0,01 mg/kg, TCA: < 0,01 mg/kg
Udbredelse: 50 m2 ned til 9 m's dybde. Mængde vurderet til 6 kg + fri fase som med stor sandsynlighed findes i den umættede zone.
|
| Poreluft |
TCE: >810 mg/m3, PCE: < 1 mg/m3, DCE: 15 mg/m3 |
| Grundvand |
TCE: 110.000 ug/l, PCE: 4 ug/l, DCE 15 μg/l, VC: <1 μg/l.
Det bemærkes, at der ikke er målt for nedbrydningsprodukter nedstrøms kildeområdet.
|
| Faneudbredelse |
>100 ug/l: Længde: >> 100 m, bredde ca. 75 m
>1000 μg/l: længde >> 100 m, bredde ca. 50 m.
Ikke afgrænset horisontalt i nedstrøms retning
|
| Ethen i grundvand |
Ikke målt |
| VC i fane |
Ingen målinger nedstrøms kildeområdet |
| DCE i fane |
Ingen målinger nedstrøms kildeområdet |
| Øvrige forureningskomponenter i grundvand |
Nej |
| Geokemisk profil |
|
| Org. stof i sediment |
Ikke målt |
| Redoxforhold |
Aerobt |
| Ilt |
>2 mg/l |
| Nitrat |
Ingen målinger |
| Sulfat |
Ingen målinger |
| Opløst jern |
Ingen målinger |
| Methan |
Ingen målinger |
| Redoxpotentiale |
Ingen målinger |
| NVOC |
Ingen målinger |
| pH |
6,7-7,5 |
| Bicarbonat |
Ingen målinger |
| Ionstyrke (ledningsevne) |
60-120 mS/m |
| Logistiske faktorer |
|
| Adgangsforhold |
Kildeområdet: ubebygget område. Store dele af fanen ligger under
bebygget område. |
| Tekniker |
Ingen men lokalitet ligger i byområde |
| Eks. pump & threat |
Nej |
| Elektricitet, vand, sanitet |
Ja |
| Afstand til bygninger |
<10 m |
| Afstand til indvindings-boringer og recipienter |
Næsby Vandværk, Rønnevejsværket: 50 m fra lokaliteten.
Der indvindes dog ikke fra vandværket pga. forurening med sprøjtemidler.
Stavids Å: 300 m
|
Resultat af screening
Klik her for at se tabellen.
Appendiks F.9 Rugårdsvej 166, Odense
Vurdering
Forureningen stammer fra et eksisterende renseri på lokaliteten.
Indsatsområdet er det terrænnære grundvand (moræneler med sandstriber/-lag).
De geologiske og hydrogeologiske forhold er ikke fuldt ud belyst. Desuden er forureningen ikke afgrænset hverken horisontalt eller vertikalt.
Forureningen i den mættede zone er hovedsageligt knyttet til lavpermeable aflejringer af moræneler samt sandstriber/lag i leren.
Der er fundet meget høje indhold af PCE (110 mg/l), hvilket indikerer forekomst af fri fase. Forekomst af cDCE og VC viser, at der sker reduktiv deklorering.
Der foreligger ikke geokemiske data – hvorfor redoxforholdene ikke kendes.
Adgangsforholdene er dårlige, idet kilden og en del af fanen ligger under bygninger.
Nærmeste recipient ligger ca. 50 m fra kildeområdet – og vil sandsynligvis blive påvirket ved tilsætning af elektrondonorer i det sekundære magasin.
Overordnet fremstår grunden som en af de mindst egnede til fase 2 undersøgelser på baggrund af følgende:
- manglende kortlægning af forureningsudbredelsen
- manglende kendskab til hydrogeologiske forhold
- dårlige adgangsforhold
- den lave permeabilitet gør det vanskeligt at levere elektrondonor til jorden
- nærliggende recipient kan blive påvirket af elektrondonorer.
Det skal bemærkes, at der sker en vis naturlig nedbrydning af PCE til cDCE og VC, hvorfor stimuleret reduktiv deklorering ikke helt kan udelukkes som en afværgemetode. I det konkrete projekt vurderes
lokaliteten dog ikke som egnet.
Konceptuel model

Foto

| Datablad |
| Basisoplysninger |
|
| Lokalitet |
Rugårdsvej 166, Odense. Forurenet lokalitet nr. 461-160 |
| Adresse |
Rugårdsvej 166, 5210 Odense NV |
| Matr. nr. |
1 bt Tarupgård, Pårup |
| Grundejer |
Anna Lise Rasmussen, Kent L. Thrane, Klaus L. Thrane |
| Kontaktperson |
Kent L. Thrane, Gransangervænget 5210 Odense NV |
| Forureningsaktivitet |
Renseri: 1965 og frem til i dag (renseri stadig i drift)Metalstøberi:
1975 – start af 1990'erne |
| Nuværende arealanvendelse |
Stue: renseri, 1. sal og kælder: beboelse |
| Risikoforhold |
Grundvand og indeklima |
| Undersøgelsesrapporter |
Forureningsundersøgelse. Rugårdsvej 166, Odense. Forurenet lokalitet
nr. 461-160. Marts 2002.
En supplerende undersøgelse til yderligere belysning af grundvandsrisiko igangsættes i indeværende år.
|
| Tidligere afværge |
Ingen |
| Indsatsområde for afværge |
Jord- og grundvandsforurening i terrænnære grundvand (porevand
i moræneler og grundvand i sandstriber) fra ca. 2,5-7 m u.t. |
| Indsatsområde for screening |
Jord- og grundvandsforurening i terrænnære grundvand (porevand
i moræneler og grundvand i sandstriber) fra ca. 2,5-7 m u.t. |
| Geologi og hydrogeologi |
|
| Geologi |
Øverste 0,25-1,6 m fyld, herunder moræneler til bund af boringer
(15 m u.t.). Vest for kildegrund er der dog fundet sand under fyldlaget ned til
maksimalt 7 m u.t. |
| Relevante magasiner for afværge |
Terrænnært magasin (sek. magasin). I kildeområdet består
magasinet af moræneler med sandstriber fra ca. 2,5 -7 m u.t.. I nedstrøms
retning består magasinet af sand (fin –groft) med op til 5 m's vandmættet
tykkelse |
| Magasintype |
Overvejende spændt. I enkelte boringer i fanen mod vest er der frit
magasin |
| Grundvandsspejl |
Ca. 2,5 - 3,5 m u.t. på kildegrund |
| Strømningsretning |
Sekundære magasin: vestlig i retning mod mindre sø |
| Hydraulisk ledningsevne |
Ikke angivet men vil variere efter jordbundforholdene (moræner med sandindslag-/striber
(10-8 m/s - 10-5 m/s) |
| Gradient |
2 – 20 % |
| Porevandshastighed |
Ikke beregnet |
| Forureningsprofil |
|
| Jordforurening |
PCE: 22 mg/kg, TCE: 3,6 mg/ kg, TCA: < 0,005 mg/kg, CM: 0,076 mg/kg
Mere end 90 % af forureningen vurderes at være i den mættede zone fra ca. 2,5 m u.t.
Der er ikke udført horisontal og vertikal afgrænsning af jordforureningen. Desuden ingen oplysninger om mængder. Der vurderes at være fri fase i kildeområdet.
|
| Poreluft |
PCE: 2100 mg/m3, TCE: 15 mg/m3, DCE: 3 mg/m3,
TCA: 14 mg/m3 |
| Grundvand (sek. magasin) |
Kildeområde: PCE: 110.000 μg/l, TCE: 1500 μg/l, DCE: 4600 μg/l, VC: 1900
μg/l, TCA: < 10 μg/lFane: PCE: 1700 μg/l, TCE: 56 μg/l, DCE: 19 μg/l, VC: 16 μg/l |
| Grundvandsfane |
>100 μg/l: længde 50 m, bredde ca. 30 m. Ikke afgrænset
i nedstrøms retning |
| Ethen |
Ingen måling |
| VC i fane |
Data utilstrækkelig. Manglende afgrænsning af fane |
| DCE i fane |
Data utilstrækkelig. Manglende afgrænsning af fane |
| Øvrige forureningskomponenter |
Overfladeforurening med tungmetaller: Zink: 520 mg/kg, Bly: 300 mg/kg. |
| Geokemisk profil |
|
| Org. stof i sediment |
Ikke undersøgt |
| Redoxforhold |
Ikke undersøgt |
| Ilt |
Ikke undersøgt |
| Nitrat |
Ikke undersøgt |
| Sulfat |
Ikke undersøgt |
| Opløst jern |
Ikke undersøgt |
| Methan |
Ikke undersøgt |
| Redoxpotentiale |
Ikke undersøgt |
| NVOC |
Ikke undersøgt |
| pH |
Ikke undersøgt |
| Bicarbonat |
Ikke undersøgt |
| Ionstyrke (ledningsevne) |
Ikke undersøgt |
| Logistiske faktorer |
|
| Adgangsforhold |
Dårlige: forurening i kildeområdet samt en del af fanen ligger
under bygninger |
| Tekniker |
Nej, men lokalitet ligger i byområde |
| Eks. pump & threat |
Nej |
| Elektricitet, vand, sanitet |
Ja |
| Afstand til bygninger |
Forurening ligger under bygninger |
| Afstand til indvindings-boringer og recipienter |
Nærmeste vandindvinding: 300 m. Tarup. Vandværk indvinder i ca.
30-35 m's dybde. Lokaliteten ligger dog uden for indvindingsoplandet.
Recipient: 50 m nedstrøms (mindre sø)
|
Resultat af screening
Klik her for at se tabellen.
Appendiks F.10 Rugårdsvej 234 – 238, Odense
Vurdering
Denne lokalitet fik den højeste score.
Der findes en detaljeret beskrivelse af de geologiske og hydrogeologiske forhold. Herudover er der en god beskrivelse af forureningsfordelingen (både vertikalt og horisontalt) og af de geokemiske forhold.
Der er sket en næsten fuldstændig reduktiv deklorering af forureningen, både i jord og grundvand. Kun 1 % af den samlede forurening findes som TCE. Der er ingen fri fase. Indholdet af cDCE er sammen
med VC den væsentligste forureningskomponent. Ethen er påvist, hvilket indikerer, at der sker en fuldstændig nedbrydning. Dehalococcoides vil med stor sandsynlighed findes. I nedstrøms retning, hvor
ethen indholdet er lavt, sker der evt. nedbrydning af cDCE og VC ved anaerob oxidation.
De geokemiske forhold er gunstige for reduktiv deklorering med lavt ilt- og nitratindhold, opløst jern, negativt redoxpotentiale og forekomst af methan. Det lidt forhøjede indhold af NVOC (evt. afsmitning
fra kulbrinteforureningen) kan være med til at fremme den reduktive deklorering.
Oprensning af kildeområdet er en udfordring da det vil være vanskeligt at tilsætte elektrondonorer i de lavpermeable aflejringer. Indsatsområdet er dog forholdsvis lille, hvilket vil muliggøre direkte injektion af
donor i leren (passiv metode).
Forureningsudbredelsen i det mellem sekundære magasin er større (ca. 35 x 70-100 m), men den hydrauliske ledningsevne er her større, hvilket gør det nemmere at levere elektrondonoren. Det vil være
muligt at etablere et aktivt system her.
Adgangsforholdene til oprensning af kildeområdet er meget gode (parkeringsplads o.lign.). Derimod er adgangsforholdene til oprensning af forureningsfanen knap så gode. Det vurderes dog som værende
muligt at oprense den væsentlige del af kilden uden de store problemer. Da der ligger boliger i området, skal det på forhånd vurderes, om der kan ske indtrængning af methan.
Overordnet vurderes lokaliteten som særdeles gunstig for oprensning med stimuleret reduktiv deklorering. Det vurderes, at der er de nødvendige bakterier i jord- og grundvand til en fuldstændig nedbrydning
til ethen.
Konceptuel model

Foto

| Datablad |
| Lokalitet |
Forurenet lokalitet nr. 461-169, Rugårdsvej 234 og 238 A-D, Odense. |
| Adresse |
Rugårdsvej 234-238, 5210 Odense NV |
| Matr. nr. |
5c og 3b, Tarupgaard, Tarup |
| Grundejer |
Ejendomsselskabet Rugårdsvej 234-238 v Anton Hesselballe, L.A. Ringsvej
26, 5230 Odense M |
| Forureningsaktivitet |
Maskinfabrik: Affedtning af metalemner, deponering af slam fra trikar samt
skæreolie. Udsivning af fyringsolie fra overjordiske tanke. Periode for
forurening er ca. 1951 til slutningen af 1980'erne. |
| Nuværende arealanvendelse |
Rugårdsvej 234: Maskinfabrik, værksted, forretning, beboelse.
I grundvandsfanen uden for kildegrunden er der parcelhuse med beboelse |
| Risikoforhold |
Forurening udgør risiko mod grundvandsressourcen i området. OSD-område.
Lille risiko mod Tarup Vandværk der ligger ca. 400 m nedstrøms. Ingen
risiko mod indeklima. |
| Undersøgelsesrapporter |
Forureningsundersøgelse. Affaldsdepot nr. 461-107. Afgrænsning
og risikovurdering af forurening med olie og trichlorethylen. Skitse af afværgeprojekt
Rugårdsvej 226D og 234, 5210 Odense NV. August 1992.
Oprensning af affaldsdepot nr. 461-107, Rugårdsvej 226D og 234, Odense. Dokumentationsrapport. Juli 1994.
Forureningsundersøgelse og afværgeprogram. Rugårdsvej 234 og 238A-D, Odense. Forurenet lokalitet nr. 461-169. Juni 2003.
|
| Tidligere afværge |
1973: Frivillig oprensning. Afgravning af olieforurenet jord på Rugårdsvej
234. Ingen oplysninger om mængde.
1991: Frivillig oprensning af 400 m3 olieforurenet jord.
1994. Offentlig oprydning (Fyns Amt/Miljøstyrelsen). Oprensning af 4500 tons jord som primært var forurenet med olie. Dog også en del forurenet med TCE. TCE
kildeområdet oprenset til 8 m's dybde.
|
| Indsatsområde for afværge |
1. Kildeområde med kraftig forurening med klorerede opløsningsmidler
- hovedsagelig i moræneler med sandindslag.
2. Mellem sekundære magasin som er kraftigt forurenet med klorerede opløsningsmidler.
|
| Geologi |
Øverst 1- 4 m sandfyld. Herunder moræneler til ca. 30 m u.t.
med indlejring af smeltevandsaflejringer. Fra 10-15 m u.t. udbredte
forekomster af smeltevandsaflejringer med øverst 1-2 m silt/ler og herunder
0,5 - 3 m sand. |
| Hydrogeologi |
|
| Relevante magasiner for oprensning |
Kildeområde: Består typisk af moræneler med sandstriber
- enkelte steder findes der deciderede sandlag med mægtighed op til et par
meter. Findes fra ca. 4-10 m u.t.Mellem sek. magasin: består af sandlag
med en typisk tykkelse på ½-1 m, dog op til 3 m nedstrøms kildeområdet.
Træffes i dybder fra ca. 10-15 m u.t Ø |
| Sediment |
Kildeområde: Moræneler med sandstriber
Mellem sek. magasin: Fin-mellem sand
|
| Magasintype |
Mellem sek. magasin: spændt magasin |
| Grundvandsspejl |
Kildeområde: 1-3 m u.™ellem: 2-3 m u.t. på kildegrund, nedstrøms
i fanen op til 7 m u.t. |
| Strømningsretning |
Mellem sek. magasin: nordøstlig, østlig |
| Hydraulisk ledningsevne |
Kildeområde: Aflejringer af moræneler og smeltevandsaflejringer
af silt, ler og sand: ca. 10-5-10-9 m/s
Mellem sek. magasin: 1,3-13 x 10-5 m/s (prøvepumpning)
|
| Gradient |
Øvre: 30-40 promilleMellem: 8-40 promille. |
| Porevandshastighed |
Mellem sek. magasin: 20-125 m/år |
| Forureningsprofil |
|
| Jordforurening |
Hele jordforureningen findes i mættet zone.
Kildeområdet: TCE: 31 mg/kg, cDCE: 65 mg/kg, VC: 2,9 mg/kg. Andelen af cDCE og VC udgør 99 % af den samlede forureningsmængde.Total kulbrinter: 12.000
mg/kg (nedbrudt gasolie/tungere olie), ingen betydende indhold af BTEX'er. Ingen residual fri fase af TCE.
Udbredelse: 3-14 m u.t., areal ca. 500 m2, 1-10 mg/kg: ca. 3500 tons, 10-100 mg/kg: ca. 1100 tons
Forureningsmængder: 60-100 kg klorerede opløsningsmidler (primært cDCE og VC) og ca. 2-300 kg total kulbrinter
|
| Poreluft |
TCE op til 31 mg/m3. cDCE og VC < 1 mg/m3. |
| Grundvand |
Kildeområde: TCE: 140 μg/l, cDCE: 10.000 μg/l, VC: 6.500 μg/l. Mellem:
TCE:16 μg/l, cDCE: 32.000 μg/l, VC: 5.100 μg/l.
Ingen residual fri fase
Faneudbredelse: Fane i mellem sek. magasin er afgrænset horisontalt og vertikalt.Areal: 2500 m2, fanebredde ca. 25 m, længde ca. 100 m, mægtighed ½-1,5 m (op til 3
m)
Mængder: ca. 1 kg.
|
| Ethen i grundvand |
Målt i både i kildeområde og i fanen (op til 92 μg ethen/l
og 12 μg/l af ethan) |
| Øvrige forureningskomponenter |
Kildeområde: Indhold af kulbrinter (tungere komponenter).
Mellem: ingen kulbrinter
|
| Geokemisk profil |
Bemærk: Kun data fra mellem sek. magasin |
| Org. stof i sediment |
ca. 1,5 % (evt. fejlmåling?, virker meget højt for smeltevandssand) |
| Redoxforhold |
Jernreduceret både i kildeområdet og i fanen |
| Ilt |
Vurderes at være < 0,5 mg/l. Målinger viser indhold på
0,3-2,8 mg/l, men det vurderes at være påvirkning fra prøvetagningen |
| Nitrat |
< 1 mg/l. Dog enkelte målinger på op til 1,8 mg/l. |
| Sulfat |
62-161 mg/l |
| Opløst jern |
1,1- 3,7 mg/l |
| Methan |
op til 0,4 mg/l |
| Redoxpotentiale |
50 til –124 mv |
| NVOC |
2,5 – 7,2 mg/l |
| pH |
6,9 – 7,2 |
| Bicarbonat |
290 – 470 mg/l |
| Ionstyrke (ledningsevne) |
60 – 120 mS/m |
| Logistiske faktorer |
|
| Adgangsforhold |
Kildeområdet: gode adgangsforhold med parkeringsplads. I fanen er der
haver og parcelhuse. |
| Tekniker |
Ligger i Odense, så tæt på. |
| Eks. pump & threat |
Nej, men der findes afværgeboring i kildeområdet. Mange moniteringsboringer. |
| Elektricitet, vand, sanitet |
Ja |
| Afstand til bygninger |
< 10 m |
| Afstand til indvindings-boringer og recipienter |
Nærmeste indvinding er Tarup Vandværk, som ligger 400 m nedstrøms.Nærmeste
recipient ligger over 1 km fra lokaliteten |
Screeningsdata
Klik her for at se tabellen.
Appendiks F.11 Sortebrovej 26, Tommerup
Vurdering
Der er ikke fundet nogen jordforurening i den umættede zone. Den kontstaterede jordforurening i den mættede zone vurderes at være grundvandstransporteret. Kilden til forureningen er ikke fundet og
vurderes at være udvasket.
Der er udført en detaljeret horisontal og vertikal afgrænsning af jord- og grundvandsforureningen.
De hydrogeologiske forhold i hotspotområdet er meget vekslende, primært med morænelersaflejringer med indslag af sandslirer. Der pågår pt. treatability studier for at vurdere, om kemisk oxidation eller
reduktiv deklorering kan anvendes som afværgemetode.
Den væsentligste forureningsmasse er knyttet til lavpermeable aflejringer af moræneler i dybdeintervallet 5-20 m u.t.
Undersøgelsen viser, at der allerede sker reduktiv deklorering. Der er fundet indhold af cDCE på op til 3.400 μg/l. VC er også fundet, men i lavere koncentrationer (maximalt 53 μg/l).
De geokemiske forhold er gunstige for reduktiv deklorering med lavt indhold af ilt og nitrat og indhold af opløst jern. Indholdet af organisk stof (NVOC) er lille, hvilket indikerer, at den naturlige nedbrydning
er begrænset af elektrondonorer.
Den lave permeabilitet vil vanskeliggøre levering af elektrondonor til jorden. Et passivt system med en langtsomtfrigivende elektrondonor vil være det mest nærliggende.
Adgangsforholdene er meget gode, og der er ingen bygninger i indsatsområdet. Desuden er der kun lille aktivitet på grunden (lager), hvilket gør lokaliteten meget attraktiv mht. adgangsforhold.'
Overordnet er lokaliteten en god kandidat for at afprøve stimuleret reduktiv deklorering i lavpermeable aflejringer, som er meget almindelig i den østlige del af Danmark. De gode plads- og adgangsforhold
muliggør direkte injection af en langtsomtfrigivende elektrondonor.
Konceptuel model

Foto

| Datablad |
| Basisoplysninger |
|
| Lokalitet |
Sortebrovej 26, Tommerup. Forurenet lokalitet nr. 485-20, Tommerup |
| Adresse |
Sortebrovej 26, Tommerup |
| Matr. nr. |
matr. nr. 6am, Tommerup By, Tommerup |
| Grundejer |
VMI Odense aps, Møllebakken 34, Tommerup |
| Forureningsaktivitet |
På grunden har der i perioden 1886 til 1995 først været
smedeværksted og senere maskinfabrik (Knarreborg Maskinfabrik).
Kilde til forurening er affedtning af metalemner med TCE. Desuden forurening med oliekomponenter fra underjordiske tanke.
|
| Nuværende arealanvendelse |
Ejendommen og de tidligere produktionsbygninger anvendes i dag til lager |
| Risikoforhold |
Grundvand og vandindvinding til Tommerup Vandværk |
| Undersøgelsesrapporter |
Forureningsundersøgelse. Forurenet lokalitet nr. 485-20, Tidligere
maskinfabrik, Sortebrovej 26, Tommerup. Marts 2000.
Forureningsundersøgelse. Forurenet lokalitet nr. 485-20, Tidligere maskinfabrik, Sortebrovej 26, Tommerup. Supplerende undersøgelse. November 2001.
Moniteringsrapport. Forurenet lokalitet nr. 485-20, Tidligere maskinfabrik, Sortebrovej 26, 5690 Tommerup. April 2003.
Supplerende kildeopsporing. Forurenet lokalitet nr. 485-20, Tidligere maskinfabrik, Sortebrovej 26, 5690 Tommerup. Maj 2003
|
| Tidligere afværge |
Ingen |
| Indsatsområde for afværge |
Indsatsområdet for stimuleret reduktiv deklorering omfatter jord- og
grundvandsforureningen på selve kildegrunden ned til 20 m u.t. |
| Indsatsområde for screening |
5-20 m u.t. i kildeområde (primært moræneler) |
| Geologi og hydrogeologi |
|
| Geologi |
De geologiske forhold veksler meget: I kildeområdet er der fundet moræneler
ned til ca. 40 m's dybde. I moræneleren er der fundet vekslende lag af smeltevandsaflejringer
af sand omkring 15 m's dybde (mest sandstriber) og igen omkring 30 m's dybde (deciderede
sandlag med mægtighed på 0,5 - 3 m). Under moræneleren er der
i dybdeintervallet 40-50 m u.t. fundet et udbredt lag af smeltevandssand med en
mægtighed på ca. 10 m. |
| Relevante magasiner |
Øvre sekundære magasin: Fra ca. 3-6 m u.t.Mellem sek. magasin.
Fra 10-20 m u.t. Tykkelse typisk 0,1 - 1 m. Dog op til 4 m i nedstrøms
retning.
I kildeområdet er det vanskeligt at skelne mellem det øvre og mellemste sek. magasin, idet begge magasiner her består af moræneler med indslag usammenhængende
sandstriber. I nedstrøms retning er der fundet et decideret sekundært magasin omkring 15 m u.t.. Dette sandlag er dog ikke fundet i boringer uden for lokaliteten
|
| Sediment i indsatsområde |
Moræneler med usammenhængende sandstriber af sand (mellem-groft).
I nedstrøms retning er der fundet et sammenhængende lag af groft
sand med tykkelse op til 4 m. |
| Magasintype |
Spændt |
| Grundvandsspejl |
Øvre sekundære magasin: 3-5 m u.t.Mellem sekundære magasin:
5-15 m u.t. |
| Strømningsretning |
Øvre sek. magasin: Sydlig. Strømning er dog mest vertikale mod
mellem sek. magasinMellem sek. magasin: Nord-nordøstlig. I kildeområdet
sker der en væsentlig nedadrettet strømning mod nedre sek. magasin |
| Hydraulisk ledningsevne |
Ikke målt, men da der er tale om primært moræneler med sandstriber/lag,
vil den hydrauliske ledningsevne variere efter sedimenttype (10-8 til
1x10-5 m/s). I nedstrøms retning er der fundet grovkornet sand.
Ledningsevnen vurderes her i størrelsesorden 5x10-4 - 1 x10-4
m/s. |
| Gradient |
Øvre: meget varierende, idet magasinet ikke er sammenhængendeMellem:
meget varierende, idet magasinet ikke er sammenhængende. |
| Porevandshastighed |
Øvre: få meter om åre™ellem: i kildeområdet
få meter om året. I nedstrøms retning noget større,
i strørrelsesorden 50 m/året (groft skøn idet der ikke er
udført pumpeforsøg). |
| Grundvandstemperatur |
Ca. 10 grader |
| Forureningsprofil |
|
| Jordforurening |
Hele jordforureningen findes i mættet zone.
Generelt lavt indhold i jorden. Højeste indhold er omkring 5 mg/ TCE/kg TS. Dette indhold er fundet i 17 m's dybde. Jordforeningen først truffet fra 5-6 m's dybde og
forureningen er her grundvandstransporteret. Kilden til forureningen er ikke fundet.
Der er ikke fundet fri fase.
Udbredelse: Den horisontale udstrækning af det kraftigste forurenede område udgør 500-700 m2. PID målingerne viser, at der er sket en vertikal spredning af
jordforureningen til 16-20 m's dybde.
Forureningsmassen vurderes til 5-20 kg TCE. Hertil kan komme fri fase.
|
| Poreluft |
Generelt lavt indhold i poreluften (op til 5 mg TCE/m3). |
| Grundvand |
Øvre: Kun få målinger: TCE: 3700 ug/l, cDCE: 69 ug/l, VC:
1 ug/L
Mellem: TCE: 32.000 ug/l, cDCE: 3400 ug/l, VC: 53 ug/l.
Mængde i øvre og mellem: 1-2 kg TCE (groft skøn)
|
| Faneudbredelse |
Øvre: > 10 ug/l: ca. 70 m lang, 40 m bred> 1000 ug/l: ca. 30
m lang og 20 m bred
Mellem: > 10 ug/l: ca. 100 m lang, 45 m bred>1000 ug/l: ca. 50 m lang og 30 m bred
|
| Ethen i grundvand |
Ikke målt |
| VC fane nedstrøms DCE fane |
Nej |
| DCE fane nedstrøms TCE fane |
Nej, men der findes VC, cDCE sammen med TCE i nedstrøms retning. |
| Øvrige forureningskomponenter i grundvand |
Nej ikke i område med TCE forurening. |
| Geokemisk profil |
|
| Org. stof i sediment |
Ikke målt |
| Redoxforhold |
Nitrat-jernreducerende uden nitrat og med indhold af jern og mangan. Generelt
er redoxforholdene ikke særligt godt belyst. Jern- og iltanalyser ser ud
til at være påvirket af prøvetagningen. Det er dog angivet,
at jern(II) analyser er filtreret i felten. |
| Ilt |
< 1mg/l ? Målinger op til 7,7 mg/l (påvirkning fra prøvetagningen) |
| Nitrat |
< 0,5 mg/l |
| Sulfat |
55-110 mg/l |
| Opløst jern |
0,15-0,55. Evt. påvirket ved prøvetagningen |
| Methan |
Ikke målt |
| Redoxpotentiale |
Ikke målt |
| NVOC |
2-4 mg/l |
| pH |
7-7,5 |
| Bicarbonat |
270-510 mg/l |
| Ionstyrke (ledningsevne) |
66-112 |
| Logistiske faktorer |
|
| Adgangsforhold |
Meget gode. Ingen bygninger i indsatsområdet |
| Tekniker |
Nej men lokalitet ligger i byområde |
| Eks. pump & threat |
Nej, men mange moniteringsboringer |
| Elektricitet, vand, sanitet |
Ja |
| Afstand til bygninger |
>10 |
| Afstand til indvindings-boringer og recipienter |
150 m. Tommerup Vandværk indvinder fra ca. 40-50 m u.t. |
Resultat af screening
Klik her for at se tabellen.
Appendiks F.12 Bogensevej 39, Grønnemose, Årup
Vurdering
Der er tale om en tidligere asfaltfabrik, hvor der er sket deponering.
Der er sket forurening i 3 forskellige sekundære magasiner i dybder op til ca. 30 m. Forureningsmassen er relativt lille (< 5 kg i alt). Forureningsindholdet er lavt typisk under 500 μg/l. Kilden til forureningen
vurderes udvasket.
Screeningen er gennemført for det nedre sekundære magasin på den vestlige del af lokaliteten. Her er forureningen fundet i den øverste del af magasinet. Forureningen i de sekundære magasiner på den
østlige del af lokaliteten er fundet i bunden af magasinet – i stor dybde - det vurderes derfor ikke som værende realistisk at gennemføre stimuleret in situ reduktiv deklorering i dette område.
De geologiske og hydrogeologiske forhold er belyst både vertikalt og horisontalt.
Derimod er udbredelsen af forureningen ikke fuldstændig kortlagt.
De geokemiske forhold viser aerobe forhold i de sekundære magasiner – der er således ikke gunstige forhold for reduktiv deklorering. I den østlige del er der i overensstemmelse hermed ikke fundet
nedbrydningsprodukter. I den vestlige del er der fundet betydelige mængder af cDCE, men nedbrydningen vurderes at være sket i den umættede zone.
- Adgangsforholdene er gode uden nærliggende bygninger.
- Lokaliteten vurderes ikke egnet til at indgå i en efterfølgende fase 2 ud fra følgende betragtninger:
- Forureningsindholdet er lavt (under 500 ug/l), hvilket vurderes for lavt til et pilotprojekt
- Forureningsudbredelsen er ikke fuldstændig belyst
- Forureningen findes i relativt stor dybde (>20 m), hvilket medfører store udgifter til borearbejde
- Forureningen i den østlige del af grunden ligger i bunden af magasinet
- De geokemiske forhold er ikke gunstige for reduktiv deklorering
Konceptuel model

Foto

Forureningsafgrænsning er usikker
| Datablad |
| Basisoplysninger |
|
| Lokalitet |
Bogensevej 39, Årup. Forurenet lokalitet nr. 499-10. |
| Adresse |
Bogensevej 39, Årup |
| Matr. nr. |
23, Hækkebølle By og 1ah,Gribsvad by. |
| Forureningsaktivitet |
Indtil 1960 landbrug
Efter 1960 - først 1970érne: Asfaltfabrik, grusgrav. Grusgrav opfyldt med jord, rester fra asfaltabrik, bygningsaffald, asfalt tjærerester
|
| Nuværende arealanvendelse |
Ingen anvendelse ligger ubenyttet hen |
| Risikoforhold |
Grundvand, indvinding Etterup Grønnemose Vandværk |
| Undersøgelsesrapporter |
Undersøgelse af affaldsdepot nr. 499-10, Bogensevej 39, Aarup. April
1993.
Forureningsundersøgelse. Affaldsdepot nr. 499-10, Bogensevej 39, Aarup. Supplerende undersøgelse. December 1995.
Forureningsundersøgelse. Affaldsdepot nr. 499-10, Bogensevej 39, Aarup. Videreført supplerende undersøgelse. August 1997.
Forureningsundersøgelse. Forurenet lokalitet nr. 499-10, Bogensevej 39, Aarup. Supplerende undersøgelse. September 2000.
Forureningsundersøgelse. Forurenet lokalitet nr. 499-10, Bogensevej 39, Aarup. Placering af moniteringsboring. Maj 2002.
Forureningsundersøgelse. Forurenet lokalitet nr. 499-10, Bogensevej 39, Aarup. Ny moniteringsboring. Maj 2003.
|
| Tidligere afværge |
Ingen |
| Indsatsområde for afværge |
Grundvand, sekundære magasiner |
| Indsatsområde for screening |
Nedre sekundære magasin, vestlige område.
Det øvre og nedre sekundære magasin i det østlige område vurderes ikke realistisk at oprense med stimuleret reduktiv deklorering pga. forurening kun er udbredt i
den nederste del af magasinet og i relativ stor dybde.
|
| Geologi og hydrogeologi |
|
| Geologi |
Meget varieret
Østlige område: kote ca. 75 m. Ca. 30 m sand: fin-groft med enkelte indslag af moræneler.
Vestlige område: kote ca. 70 m: Øverst moræneler med sandindslag til ca. 10 m's dybde. Herunder sand (mellem-groft) ned til kote 35 m, ca. 25 m tykt.
|
| Relevante magasiner for oprensning |
Østlige område øvre sekundære magasin: Sand (mellem-groft).
Fra kote 60 m til ca. 47-50 m
Vestlige områdenedre sek. magasin: sand (fin-groft, med grusindslag), kote ca. 57-35 m
|
| Sediment |
Sand: fin groft |
| Magasintype |
Frit |
| Grundvandsspejl |
Østlige område: ca. 15 m u.t., kote ca. 60
Vestlige område: ca. 15 m u.t. (kote ca. 56-57
|
| Strømningsretning |
Nord-nordøst |
| Hydraulisk ledningsevne |
>10-5 m/s |
| Gradient |
Østlige område: 0,5 %Vestlige område: 1,5 % |
| Porevandshastighed |
Ikke oplyst |
| Forureningsprofil |
|
| Jordforurening |
TCE: 0,78 mg/kg, cDCE: 0,1 mg/kg |
| Poreluft |
TCE: 33 mg/m3, PCE: < 1 mg/m3 |
| Grundvand |
Østlige område:Øvre sek. magasin ved m3 og
M9: TCE: 480 μg/l, ingen nedbrydningsprodukter (under detektionsgrænsen)
Højest koncentrationer i bunden af magasine™ængde 2,5 kg TCE.
Nedre sek. magasin: TCE: 120 ug/l, ingen PCE eller nedbrydningsprodukter (mindre end detektionsgrænse)
Mængde: 0,5 kg TCE.
Vestlige område: Nedre sek. magasin:
TCE: 91 (170) μg/l, DCE: 123 (560) μg/l, VC: 1,3 μg/l, CM: 1,3 μg/l. Parantes angiver forskellige oplysninger.
0,5 kg TCE og 0,5 kg DCE
Højeste indhold i toppen af magasin. Ingen forurening i bund af magasin.
|
| Faneudbredelse |
Østlige område, øvre sekundære magasin: >100
m
Vestlige område: ca. 80 m
|
| Ethen i grundvand |
Ikke målt |
| Øvrige forureningskomponenter i grundvand |
Ingen |
| Geokemisk profil |
|
| Org. stof i sediment |
ikke oplyst |
| Redoxforhold |
Aerobt |
| Ilt |
Østlige område: 10-13Vestlige område: 11 |
| Nitrat |
Østlige område: 17-19
Vestlige område: 14
|
| Sulfat |
Østlige område:35-53
Vestlige område: 30
|
| Opløst jern |
Østlige område:0,21-0,54 mg/l ? Sandsynligvis påvirkning
fra prøvetagningen
Vestlige område: 0,7 mg/l ? Sandsynligvis påvirkning fra prøvetagningen
|
| Methan |
Ingen analyser |
| Redoxpotentiale |
Ingen analyser |
| NVOC |
Ingen analyser |
| pH |
7-7,5 |
| Bicarbonat |
Ingen analyser |
| Ionstyrke (ledningsevne) |
<100 mS/m |
| Logistiske faktorer |
|
| Adgangsforhold |
Gode |
| Tekniker |
Ingen |
| Eks. pump & threat |
nej |
| Elektricitet, vand, sanitet |
nej |
| Afstand til bygninger |
Ingen bygninger |
| Afstand til indvindings-boringer og recipienter |
>500 m |
Resultat af screening
Klik her for at se tabellen.
Appendiks F.13 Industrivirksomhed, Svendborg
Vurdering
Der er tale om en eksisterende industrivirksomhed med forurening med TCE og krom(VI). Den væsentligste forurening findes i det øvre sekundære magasin fra ca. 3-7 m u.t.
De geologiske og hydrogeologiske forhold er først og fremmest belyst horisontalt. Der er tale om morænelersaflejringer med mere eller mindre sammenhængende sandlag. Den relativt hurtige horisontale
udbredelse af kromforureningen indikerer en relativ stor strømningshastighed.
Grundvandsforureningen er hovedsageligt undersøgt i det øvre sekundære magasin. Det er også her den største forureningsspredning vurderes at være sket. Forureningen er dog ikke fuldtænding afgrænset
horisontalt (især kromforureningen) eller vertikalt.
De geokemiske forhold viser aerobe-nitratreducerende forhold i de sekundære magasiner. Det formodes dog at der er mikronicher med mere reducerede forhold. Der er således fundet indhold af cis DCE
op til ca. 500 μg/l. Indholdet af VC er mindre end 10 μg/l.
Adgangsforholdene er rimelige. Kildeområdet for TCE forureningen er udendørs, men tæt på bygninger. En stor del af fanen ligger under eksisterende industribygning. Det er dog muligt at udføre boringer og
injicere elektrondonor under bygningerne.
Forureningen vurderes egnet til at indgå i projektets fase 2 idet:
- Lokaliteten repræsenterer en typisk østdansk lokalitet hvor forureningsspredningen hovedsageligt sker i sandlag i morænelersaflejringer
- Lokaliteten er interessant, idet der også er en forurening med krom(VI) i grundvandet. Den reduktive deklorering skal både nedbryde de klorerede opløsningsmidler og reducere krom(VI) til krom(III)
(som er immobilt i grundvandet).
- Kildeområdet oprenses i marts 2004
Passive metoder med anvendelse af en langsomt frigivende elektrondonor vurderes som den mest relevante metode på lokaliteten.
Konceptuel model

Foto

Isolinje angiver forurening med klorerede opløsningsmidler
| Datablad |
| Basisoplysninger |
|
| Lokalitet |
Eksisterende industrivirksomhed, Svendborg |
| Adresse |
Svendborg |
| Forureningsaktivitet |
Eksisterende industrivirksomhed (maskinfabrik og galvanisering) |
| Nuværende arealanvendelse |
Eksisterende industrivirksomhed |
| Risikoforhold |
Grundvand |
| Undersøgelsesrapporter |
Undersøgelse af affaldsdepot nr. 499-10, Bogensevej 39, Aarup. |
| Tidligere afværge |
Afværgepumpning |
| Indsatsområde for afværge |
Grundvand, sekundære magasin |
| Indsatsområde for screening |
Sekundære magasin |
| Geologi og hydrogeologi |
|
| Geologi |
Øverst 1 m fyld, herunder mindst 30 m moræneler med indslag af
sand. I kildeområdet findes et sandlag omkring 3-7 m's dybde med en mægtighed
på 0,3-1,5 m. Tynde sandstriber forekommer i 9 m's dybde i B9 i kildeområdet.
I 14-15 m's dybde er der fundet grusindslag med en m's tykkelse. |
| Relevante magasiner for oprensning |
Øvre sekundære magasin. Der findes et sammenhængende sandlag
i kildeområdet omkring 3-7 m's dybe med en mægtighed på ca.
0,3-1,5 m. I nedstrøms retning bliver sandlaget tyndere og yderst i fane
er det mest sandslirer i moræneleren. |
| Sediment |
Sand: fin-groft |
| Magasintype |
Spændt |
| Grundvandsspejl |
Ca. 3 m u.t. |
| Strømningsretning |
Nordlig |
| Hydraulisk ledningsevne |
Ikke opgivet, men vurderes til ca. 10-5 m/s i sandlagene |
| Gradient |
Ikke entydig, men varierer meget fra boring til boring. |
| Porevandshastighed |
Ikke opgivet? |
| Forureningsprofil |
|
| Jordforurening |
TCE: Op til 52 mg/kg TS (B2)Ca. 1000 tons jord forurenet (ca. 50 kg TCE).
Cr(VI): op til 200 mg/kg TS
|
| Poreluft |
Ikke målt |
| Grundvand |
Data fra 2003: TCE: <5.000 μg/l, cDCE μg/l: <150, VC: <5 μg/l
Ca. 5 kg opløst i grundvandet.
|
| Faneudbredelse |
Den kraftigste grundvandsforurening er spredt ca. 100 m fra kildeområdet.
Forureningen er ikke fuldstændigt afgrænset horisontalt eller vertikalt. |
| Ethen i grundvand |
< 10 g/l |
| Øvrige forureningskomponenter i grundvand |
Cr(VI): I 2003 målt op til 6.100 μg/l i det sekundære grundvand.Fane:
Udbredelsen er > 150 m lang og > 80 m bred |
| Geokemisk profil |
|
| Org. stof i sediment |
Ikke målt |
| Redoxforhold |
Aerob-nitratreducerende |
| Ilt |
<0,95 – 5,8 (seneste målinger i 2003) |
| Nitrat |
<0,5 – 6,8 |
| Sulfat |
22 – 84 |
| Opløst jern |
<0,01 – 0,24 |
| Methan |
<0,01 |
| Redoxpotentiale |
36 - 168 |
| NVOC |
2,8 – 12, men typisk under 5 mg/l |
| pH |
6,9 – 7,5 |
| Bicarbonat |
330 – 450 |
| Ionstyrke (ledningsevne) |
74 – 108 |
| Logistiske faktorer |
|
| Adgangsforhold |
Middel: Kildeområde tilgængeligt. En stor del af fane ligger under
bygning |
| Tekniker |
Ja på virksomheden |
| Eks. pump & treat |
Ja |
| Elektricitet, vand, sanitet |
ja |
| Afstand til bygninger |
<10 |
| Afstand til indvindings-boringer og recipienter |
Nærmeste vandindvinding er Grubbemølleværket: 1,2 km
Nærmeste recipient er Trappebækken ½ km øst for virksomheden.
|
Resultat af screening
Klik her for at se tabellen.
Appendiks G Erfaringer fra Holland
Contractor: COWI A/S, Denmark
Project title: In-situ enhanced reductive dechlorination
Experiences in the Netherlands
Project code: 2003.2161
Document type: Report
Publication date: December 17th, 2003
Project leader: M.Sc. M.J.C. Henssen
Author(s): M.Sc. N.J.P. van Ras, M.Sc. M.J.C. Henssen
Keywords: bioremediation, reductive dechlorination, in-situ, chlorinated solvents
Bioclear b.v.
Post address:
P.O. Box 2262, 9704 CG Groningen
The Netherlands
Visit address:
Rozenburglaan 13c, Groningen
The Netherlands
Telephone: 31 (0) 50 571 8455
Telefax: 31 (0) 50 571 7920
E-mail: info@bioclear.nl
Website: www.bioclear.nl
All rights reserved. No part of this material may be reproduced or utilized in any form or by any means, electronic or mechanical, including photocopy, recording or by any informa.tion storage and
retrieval system, without written permission from Bioclear.
© Bioclear b.v.
Bioclear supports industry, authorities, engineering companies and institutes in the area of environmen.tal technology
For all orders to Bioclear the General Conditions for research orders to Bioclear, as registered at the Chamber of Commerce at Groningen, are applicable.
1. Introduction
At the request of Mr. N.E. Bordum of COWI A/S in Denmark, an overview has been given concerning the status and use of Enhanced Reductive Dechlorination (ERD) in the Netherlands
as a remediation approach for sites contaminated with chlorinated ethenes. The activities have been performed according to the proposal with reference 2003.2161/1717, dd. 29 September
2003 and confirmation with reference P-058326-A-1/NBR, dd. 3 October 2003.
The goal of the review study is to provide a broad overview of ERD, including scientific knowledge, but also practical experiences. Bioclear has extensive knowledge and practical
experience in the field of ERD. This knowledge has been developed in the Netherlands over the last 15 years. In this report, the status of ERD in the Netherlands, the most important
practical experiences and the goals that have been achieved are discussed. The emphasis is put on the use of ERD in clay soils.
The following information is provided:
1. the approach used in the planning phase of ERD, and the use and function of laboratory testing in this approach;
2. ways of delivery of substrates, and the types of substrates used;
3. how to handle regulatory permits for introduction of chemicals and microbes into the subsurface;
4. an overview of the remediations that have been performed and/or are currently performed with ERD, including data on soil type, contaminants, types of substrates, redox conditions,
project scale and method of substrate delivery.
In chapter 2, a general overview of reductive dechlorination is given, and the situation concerning the redox conditions and organic carbon content in the Netherlands is presented. In
chapter 3, the process to evaluate the possibilities of ERD is presented, together with a description of the use and function of field and laboratory testing. In chapter 4, electron donors and
techniques to deliver the electron donors that can be used are presented and practical experiences are given. In chapter 5, the legislation in the Netherlands concerning the introduction of
chemicals and micro organisms is presented. Chapter 6 provides an overview of ERD projects in the Netherlands.
2. Reductive dechlorination
2.1. Degradation of chlorinated ethenes
Over the last two decades, numerous laboratory and field studies have shown that chlorinated ethenes can be degraded to harmless end products by micro-organisms. The degradation
process can occur through three different processes:
- mineralisation, the contaminant is used as an electron donor;
- co-metabolic degradation, in which the degradation of the contaminant is fortuitous, without benefit for the micro-organism;
- reductive dechlorination, in which the contaminant is used as an electron acceptor.
Reductive dechlorination is the most important process for the degradation of chlorinated ethenes. During this process, the chlorinated ethenes are used as electron acceptor. Stepwise a
chlorine atom is removed and replaced with a hydrogen atom. In general, this process occurs by sequential dechlorination from PCE to TCE to DCE (mainly the cis-isomer) to VC and then
to ethene and/or ethane. The chlorine atoms are released as chloride ions.
2.2 Prerequisites for reductive dechlorination
When favourable conditions prevail, chlorinated ethenes can be degraded to harmless end products like ethene and ethane by specific micro-organisms. For complete degradation of
chlorinated ethenes by reductive dechlorination, the following prerequisites have to be met simultaneously:
- presence of strongly reduced conditions (methanogenic);
- sufficient electron donor (the `substrate' for dechlorinating micro organisms) of good quality;
- presence of specific micro organisms capable of degrading chlorinated ethenes to harmless end products.
Other preconditions are a favourable pH (5.5 – 8.5), the presence of sufficient nutrients (nitrogen and phosphorous sources) and trace elements and the absence of toxic compounds that
limit biological activity.
2.3. Situation in the Netherlands
In the coastal provinces of the Netherlands the soil mainly consists of clay and peat. In these soils, the organic carbon content is often high (up to 40 to 50 mg/l) and sufficient to sustain
intrinsic reductive dechlorination of chlorinated ethenes. Because of the high organic carbon content, redox conditions are often favourable for reductive dechlorination. A natural
attenuation approach can be a feasible technique for contaminations with chlorinated ethenes. In the Eastern and Southern parts of the Netherlands, the soil mainly consists of sand with
low organic carbon content and unfavourable redox conditions. Natural attenuation is only feasible if another anthropogenic contamination is present which can be used as electron donor,
in sufficient quantities. As this is rarely the case, the biological degradation of chlorinated ethenes has to be stimulated by adding an electron donor (ERD) or an electron donor and
dechlorinating micro-organisms (bio-augmentation).
Based on the results of numerous field investigations, a chart of the Netherlands has been made to visualize the capacity for natural attenuation based on the organic carbon content of the
groundwater (figure 1).

Figure 1. Capacity for natural attenuation based on organic carbon content at a depth of 10 m-bgl in the Netherlands
=sufficient organic carbon, = neutral balance = insufficient organic carbon
Such charts can be used in an early stage of the site investigation to gain insight in the possibilities for natural attenuation of a chlorinated ethenes contamination based on the area the
site is located in. If conditions appear to be favourable, specific parameters can be incorporated in first field investigations aimed at the delineation of the contamination, like analyses for
ethene and ethane, TOC and redox parameters. The decision to investigate biological processes as a (part of the) remediation strategy can then be made early, optimising the spending of
time and budget.
3. Implementing an ERD remediation
3.1. Enhanced reductive dechlorination
A contamination with chlorinated ethenes can be remediated using biological reductive dechlorination processes. As mentioned before, the prerequisites for reductive dechlorination have
to be met simultaneously. In some cases, the conditions at a contaminated site already satisfy the prerequisites for reductive dechlorination, without any technical `interference'. In these
cases, natural attenuation might be a suitable remediation approach. When the prerequisites are not met, the conditions may be optimised by adding a suitable electron donor (enhanced
reductive dechlorination). The electron donor is used to reduce electron acceptors (oxygen, nitrate, trivalent iron and sulphate) present or supplied by inflowing groundwater. This creates
highly reduced conditions that are favourable for the degradation of chlorinated ethenes. In addition, the organic material is used as electron donor for the reductive dechlorination of the
chlorinated ethenes.
In some cases, the addition of an electron donor is not sufficient to stimulate the reductive dechlorination because no micro-organisms are present that can degrade the chlorinated
ethenes to harmless end products. This is often encountered in areas with sandy aquifers where the groundwater has elevated concentrations of nitrate and/or sulphate and a low
concentration of electron donor (TOC). The conditions have not been favourable for the development of a microbial community that is capable of complete reductive dechlorination. At
these sites, the addition of an electron donor and a microbial dechlorinating consortium can be the solution to achieve biological remediation. This is called bio-augmentation. The addition
of the electron donor reduces the groundwater until favourable redox conditions prevail, the amount of electron donor for the reductive dechlorination process is increased and the addition
of dechlorinating micro-organisms leads to a rapid and complete breakdown of the contamination.
3.2. Approach
In figure 2, the approach used in initial site investigation is visualized. During initial site investigation, the contaminant situation is determined and the `urgency' and `deadline' before the
remediation must be started is defined. As mentioned before, the incorporation of specific parameters in this initial site investigation can help selecting appropriate remediation techniques
for the site.

Figure 2. Approach initial site investigation
To evaluate the possibilities for reductive dechlorination to remediate a site and to decide what remediation strategy is necessary to achieve the remediation targets, a feasibility study
has to be performed. This study typically consists of the following successive activities:
- a groundwater characterisation to determine the conditions that are present at the site;
- anaerobic degradation tests to evaluate the effect of the addition of an electron donor and, if necessary, a dechlorinating microbial consortium, and to determine degradation rates;
- three-dimensional modelling to predict the evolution of the contaminant plume when the selected remediation approach is implemented;
- evaluation of the feasibility by comparison of the predicted results with the remediation targets.
The approach for this feasibility study is visualized in figure 3.

Figure 3. Approach feasibility study ERD
3.2.1. Groundwater characterisation
To determine the conditions at a contaminated site, a groundwater characterisation is performed. This activity consists of sampling, anaerobic field measurements and laboratory analyses
on groundwater samples from the contaminated site.
Samples should be taken from monitoring wells upstream from the site (references), in the source, in the plume parallel to the flow line and at right angles to the flow line (figure 4).

Figure 4. Diagram of a plume and the sampling strategy (left cross section, right top view), with monitoring wells in the source (B), in the plume parallel to the flow line (P), in the plume at right angles to the
flow line (L) and upstream from the source (R).
The number of monitoring wells required depends on the location and is determined by the complexity of the site. Aspects such as soil structure (presence of more water discharge layers),
the number of sources of contamination (chlorinated ethenes and secondary organic contamination) and any decontamination work that is underway play an important role here.
To determine the conditions that are present in the groundwater, on-line field measurements and laboratory analyses have to be performed (table 1).
Table 1. Monitoring parameters groundwater characterisation
| Field measurements |
Laboratory analyses |
| |
redox parameters |
electron donor, N en P |
contaminants, degradation products |
micro organisms |
| Redox potential |
nitrate |
TOC |
PCE, TCE, c/t-DCE, |
Dehalococcoides |
| Oxygen |
dissolved iron |
ammonium |
VC |
ethenogenes |
| Conductivity |
sulphate, sulphide |
phosphate |
ethene and ethane |
|
| pH |
methane |
|
chloride |
|
| Temperature |
|
|
|
|
Because several parameters are susceptible for volatilisation or chemical oxidation, it is advised to contract specialised companies to perform the groundwater characterisation. For the
detection of Dehalococcoides ethenogenes PCR-techniques (Polymerase Chain Reaction) based on the detection of DNA specific for this organism have been developed, among others by
Bioclear. To date, this is the only isolated dechlorinating micro-organism that is able to degrade chlorinated ethenes completely.
Using existing protocols (for instance the S-NA protocol developed in the Netherlands, available at the website www.skbodem.nl under code SV-513, or the protocol of Wiedemeier et al.,
1998), the results of the groundwater characterisation are interpreted to determine if the preconditions for reductive dechlorination are met:
- determine redox conditions, based on the results of analyses for oxygen, nitrate, iron (total dissolved), sulphate, sulphide and methane;
- determine the quantity of electron donor and nutrients present, based on the results of analyses for TOC, ammonium and phosphate;
- Determine whether dechlorinating micro-organisms are present, indirect by analyses for chlorinated compounds, ethene and ethane and direct by screening for the presence of specific
dechlorinating micro organisms. The issue here is the presence of Dehalococcoides ethenogenes.
When the results of the evaluation of the data show that natural attenuation is not feasible, an enhanced reductive dechlorination remediation should be considered. In the next steps of
the study, the feasibility of enhanced reductive dechlorination is determined.
Typical costs for a groundwater characterisation at a contaminated site range from 6,000 to 8,000 euro. This includes anaerobic sampling of 6 to 8 (existing) monitoring wells, analyses
(see table 1), interpretation and report.
3.2.2. Anaerobic degradation tests
When one ore more limitations for reductive dechlorination are present, these limitations can be solved by adding an electron donor (ERD) or an electron donor and a dechlorinating
microbial consortium (bio-augmentation). The effect of these measures can be evaluated by performing anaerobic degradation tests.
Anaerobic degradation tests are performed using soil and groundwater samples for the contaminated site. These samples have to be collected anaerobically, to prevent the introduction of
oxygen. Also, the preparation of the batch experiments is performed under anaerobic conditions.
The set-up of the experiments is depending on site characteristics (among which are the results of the groundwater characterisation) and the questions that have to be addressed. In order
to evaluate the effect of the addition of an electron donor, tests are performed with and without addition of an electron donor. By regular analyses for chlorinated ethenes, degradation
products, electron acceptors, organic carbon and dechlorinating micro organisms, the dechlorination process is followed over time.
Based on the results it can be determined whether reductive dechlorination is stimulated by the addition of an electron donor and degradation rates can be estimated. To obtain reliable
results, it is advised to use specialized laboratories with experience in performing these degradability studies. A guideline that can be used when performing these tests is the guideline
developed by Bioclear and Wageningen University (NOBIS 94-4-04, available at the website www.skbodem.nl).
If the groundwater characterisation shows that no dechlorinating micro organisms are present at the site, a degradation test can be performed in which an electron donor and
dechlorinating micro organisms are added. Dechlorinating micro organisms can also be added during the incubation, when the preliminary results of the tests with only an electron donor
show that the required conditions are induced but a dechlorinating consortium is not developing fast enough or not at all.
A typical set up for an anaerobic degradation test is given in table 2.
Table 2. Typical set up anaerobic degradation test for a contaminated site
| test |
conditions |
analyses |
time scale |
| intrinsic |
natural |
contamination, degradation products, redox parameters, TOC, Dehalococcoides
ethenogenes |
once a month, total duration of the tests 6 months |
| stimulated |
electron donor |
| bio-augmented |
electron donor and dechlorinating micro organisms |
The monitoring program can be optimised based on site characteristics. For instance, if no nitrate is present in the contaminated groundwater, nitrate analyses are not necessary.
The electron donor used in the tests should be the same as is considered for use during full-scale remediation. When desirable, different electron donors can be tested to determine the
optimal electron donor. More information about possible electron donors that can be used to stimulate reductive dechlorination is presented in chapter 4.
Typical costs for an anaerobic degradation test with an incubation time of 6 months and 5 periodic gas chromatography analyses for PCE, TCE, DCE, VC, ethene, ethane and methane are
2,500 to 3,000 euro. The costs for a microcosm study which includes an intrinsic and stimulated anaerobic degradation test range from 5,000 to 6,000 euro. This does not include sampling
for soil and groundwater, necessary to perform the tests.
3.2.3. Modelling and design
Using a geohydrological model, build using site specific data, groundwater flow and velocity can be predicted. Modules that describe solute transport (incorporating retardation, dispersion
etc.) and degradation of the contaminant can then be added to the model to predict the fate of the contamination. Degradation rates for the contaminants can be obtained from anaerobic
degradation tests, in combination with data from literature.
Modelling can be used to show the development of the plume over time under different circumstances. A situation without remedial actions is calculated as a reference, and the influence
of stimulation of the reductive dechlorination process is determined by comparing the results of these model calculations with the reference output. Also, the effect of additional activities
can be determined, for instance core zone removal.
To determine the sensitivity of the model output for input parameters, it is advised to perform model calculations with a certain range of degradation rates and groundwater flow velocities.
The geohydrological model is also an important instrument to design a biological remediation system. Optimal extraction and infiltration well configuration, groundwater flows and system
operation (continuous, intermittent) or, in the case of direct injection, grid design can be determined.
3.2.4. Evaluation feasibility
Based on the results of the modelling study, it is determined if the proposed remedial actions are sufficient to comply with remediation targets and if the proposed remediation approach is
feasible. The output of the modelling can be an important aspect in the procedure to obtain approval of regulatory authorities.
4. Electron donors and techniques
4.1. Types of electron donor
To stimulate reductive dechlorination several electron donors can be used. The most important electron donors that have been used in laboratory studies, pilot testing and full-scale
remediation are given in table 3. A distinction has been made between well-defined, single component electron donors and undefined complex mixtures of electron donors.
Table 3. Possible electron donors to stimulate reductive dechlorination
| substance |
source |
| single component |
| methanol |
product chemical industry |
| ethanol |
product chemical industry |
| lactic acid |
product chemical industry |
| acetic acid |
product chemical industry |
| HRC1 |
product chemical industry |
| |
|
| undefined complex mixtures |
| compost percolate |
by product composting facilities |
| molasses |
by product beet sugar industry |
| protamylasse |
by product potato industry |
| vegetable oil |
raw material food industry |
1: HRC (hydrogen release compound) is a trade name of Regenesis, USA and consists of a polylactate ester
In general, single component electron donors are more expensive than complex electron donors, which are usually by products from industrial processes. Because these single component
electron donors do not contain nutrients (nitrogen, phosphorous, trace elements) these components have to be added separately. Also, some single component electron donors like
methanol can be toxic at high concentrations.
Disadvantages of complex electron donors are the presence of suspended solids which may cause infiltration problems. Also, because these complex mixtures contain nutrients and trace
elements, the risk of biofouling of infiltration wells is higher. A good design of the system can prevent such problems.
Eventually, the choice for the electron donor which is used in the field is mainly directed by its suitability to stimulate reductive dechlorination, the practical feasibility (availability,
possibilities to infiltrate or inject, storage life etc.) and acceptance by the regulatory authorities. If an electron donor also has its use as, e.g., a food additive, it will be much easier to get
approval for injection of this component for in-situ trea™ent.
In the Netherlands, there is a tendency to use complex mixtures as electron donor when applying full-scale remediation projects. Important motives are the costs, availability,
biodegradability, the fact that these mixtures contain nutrients and trace elements and their harmlessness for the environment. Last but not least, very good results have been obtained
using molasses or protamylasse in laboratory studies and in full-scale applications.
Before using an electron donor full-scale, it is advised to verify its feasibility as an electron donor for reductive dechlorination at a particular site by anaerobic degradation tests. The
amount of electron donor that is needed to induce the required redox conditions and to support reductive dechlorination has to be calculated based on concentrations of nitrate, sulphate,
chlorinated ethenes and the amount of electrons a given amount of electron donor can generate during biological degradation. An extensive suite of analyses should be performed to
evaluate if the concentrations of potential contaminants like heavy metals are below standards.
4.2. Techniques to deliver the substrates
In the past years, several techniques have been developed and used in the Netherlands to deliver electron donor to contaminated groundwater. In general, three different techniques can
be distinguished:
- extraction of groundwater, dosage of the electron donor and infiltration;
- injection of a gaseous electron donor using nitrogen as carrier gas;
- direct injection of a concentrated electron donor mixture.
4.2.1. Extraction and infiltration
Groundwater is extracted, supplied with the necessary electron donor and infiltrated again. Based on the results of several projects in the Netherlands, specific design criteria have been
formulated to obtain a proper design and to prevent clogging of the wells, with special emphasis on measures to remove suspended solids, to prevent or control degassing and to prevent
the introduction of oxygen.
Infiltration of the groundwater has been performed using horizontal or vertical infiltration wells. The most suitable configuration is depending on soil characteristics (hydraulic conductivity,
groundwater flow) and volume of groundwater that has to be treated. Using a three-dimensional model, different configurations can be evaluated and the optimal configuration can be
determined.
Extraction and infiltration is especially suitable to treat large volumes of contaminated groundwater in aquifers with sufficient conductivity. Possible disadvantages are clogging and the
technical complexity of the system. Also, the system is less suitable for use in low permeability soils like peat and clay.
4.2.2. Injection of gaseous electron donor
A second technique for the delivery of an electron donor to the contaminated groundwater is LINER, a technique developed within the SKB-program. LINER (Liquid Nitrogen Enhanced
Remediation) uses nitrogen gas as a carrier to deliver a gaseous electron donor and nutrients in the subsurface. The system is comparable to an air sparging system; the electron donor is
atomised in a nitrogen gas flow, which is injected under pressure into the groundwater. The electron donor dissolves into the groundwater and can be used by dechlorinating micro
organisms to degrade the chlorinate ethenes. By using nitrogen gas, the groundwater is kept anaerobic.
Advantages are a good distribution of the electron donor, prevention of clogging problems and an increased bioavailability of the contaminants. Disadvantages are the possibility of
volatilisation of the contaminants which might escape to the surface and the costs for nitrogen and volatile electron donor (ethyllactate). Complex electron donors, which have several
advantages above single component electron donors, cannot be used when implementing LINER. Also, the technique is not feasible in low-permeability soils like peat or clay.
4.2.3. Direct injection of an electron donor
An alternative for the use of water (extraction and infiltration) or nitrogen gas (LINER) as a carrier for the electron donor is the direct injection of a (solution of) the electron donor. This
technique, with which extensive experience has been gained in civil engineering and bioremediation, uses a injection conus that is pushed into the soil. When the required depth has been
reached, a high-pressure pump is used to inject an amount of the electron donor (figure 5).


Figure 5. Direct injection of an electron donor. Left: the injection conus is pushed into the soil. Right: the electron donor is injected using a high pressure pump.
When it is expected that the injection has to be repeated, fixed injection points can be installed. Depths up to 40 meters can be reached, depending on the system used. Typical radius of
influence range from 3 to 5 meters in low-permeability soils. Advantages of this technique are the relatively low costs, simplicity (no tubing, wells etc.) and its applicability in
low-permeable soil types.
4.2.4. Status, experience and selection criteria
In the Netherlands, mainly extraction and infiltration and direct injection are used as techniques to deliver an electron donor to contaminated groundwater. The LINER concept has been
developed but reference projects are not yet available, the first full-scale applications are in preparation. Advantages and disadvantages of the techniques are presented in table 4.
Table 4. Characteristics of the techniques to deliver electron donor
| technique |
permeability |
clogging risks |
distribution of electron donor |
types of electron donor |
costs |
experience |
| |
high |
low |
|
|
|
|
|
| extraction and infiltration |
+ |
- |
+/- |
+ |
all |
+/- |
+ |
| direct injection |
+/- |
+ |
+ |
+/- |
all |
+ |
+ |
| LINER |
+ |
- |
+ |
+ |
limited |
+/- |
+/- |
The choice between these techniques is mainly dependent on soil conductivity, the volume of groundwater that has to be treated, the depth of the contamination, costs and accessibility of
the site. In general, extraction and infiltration or LINER are most suitable for trea™ent of large volumes of contaminated groundwater in soil with high hydraulic conductivities and
groundwater flows. Direct injection techniques are preferred when low-permeable soil types have to be treated.
5. Legislation, introduction of chemicals and micro organisms
In the Netherlands, the use of chemicals and micro organisms to remediate soil and groundwater contamination is not explicitly regulated by law. In general, it is not allowed to inject or
infiltrate `anthropogenic' substances; components that are normally not present in soil or groundwater. However, in specific cases, for instance in soil remediation, specific components
can be used to degrade or remove the contamination. This includes chemical oxidation fluids, surfactants or solvents for surfactant/solvent flushing or electron donors to enhance
reductive dechlorination.
The decision to approve the use of electron donors is made using `common sense', in which the composition of the electron donor (possible contaminants, biodegradability) and its fate in
the subsurface play an important role. By demonstrating the biodegradability, non-toxicity and the positive overall effect of injecting an electron donor on soil quality, approval of the
regulatory authorities can be obtained. Normally, this does not pose a problem because the electron donor is used to stimulate biological processes; an important prerequisite for an
electron donor is that it is biodegradable and non-toxic. The approval of the regulatory authorities overrules the regulations stated in the national law that is applicable for this subject.
Another important aspect when using an extraction and infiltration system is the infiltration of contaminated groundwater. The sole purpose of the system aboveground is to supply an
electron donor to the groundwater and not to remove the contamination before infiltration. In fact, techniques that can be used to clean the groundwater (stripping, activated carbon) alter
the composition of the groundwater, causing a disruption of the degradation process or an increased risk of clogging of the infiltration wells. When it is shown that the extraction and
infiltration of groundwater does not cause an uncontrolled migration of the contamination (for instance by using modelling and monitoring in the field during pilot testing) and the infiltrated
contamination is degraded, infiltration of contaminated groundwater (extracted from the site itself) can be approved.
When implementing a bio-augmentation remediation, specific micro organisms are added besides an electron donor. To `install' the capacity for reductive dechlorination at a contaminated
site, micro-organisms obtained from nature itself are used as inoculum. The required micro organism (Dehalococcoides ethenogenes) has developed by evolution at contaminated sites
instead of genetic engineering in laboratory. When the groundwater is remediated, the necessary electron acceptors for this organism (the chlorinated ethenes) are not present anymore
and the micro organisms will die out. The community of micro organisms that is originally present in the aquifer will be restored. The use of this non-pathogenic micro organism has been
approved in several cases in the Netherlands.
For the Hoogeveen site, where a full-scale bio-augmentation strategy has been used, the effluent of the bioreactor was screened for the presence of known pathogens. The effluent
contained none of these pathogens, and infiltration of groundwater containing dechlorinating biomass was approved.
6. Reference projects in the Netherlands
ERD projects in the Netherlands that are in progress or have been finished are presented in table 5a, b, c and d. In table 5e and f, sites where a ERD approach is in preparation are
presented. The tables do not aim to be comprehensive, but the most important projects are included.
Projects in which Bioclear is involved are marked (*), sufficient data are available to describe the characteristics of the site, approach and, if finished, the results. Other important projects
in the Netherlands are also mentioned, but the available or published data are sometimes limited so the information may not be complete.
Table 5a. ERD projects in the Netherlands, finished or in progress
Klik her for at se tabellen.
Table 5b. ERD projects in the Netherlands, finished or in progress
Table 5c. ERD projects in the Netherlands, finished or in progress
Klik her for at se tabellen.
Table 5d. ERD projects in the Netherlands, finished or in progress
Klik her for at se tabellen.
Table 5e. ERD projects in the Netherlands, in preparation
Klik her for at se tabellen.
Table 5f. ERD projects in the Netherlands, in preparation
Klik her for at se tabellen.
7. Literature
Dijkhuis, J.E., J.B.M. van Bemmel, M.J.C. Henssen, R. van Lotringen. 2003. Protocol for the determination of the sustainability of the natural attenuation (S-NA) of chlorinated ethenes. SKB,
Gouda the Netherlands.
Wiedemeier, T.H., M.A. Swanson, D.E. Moutoux, E.K. Gordon, J.T. Wilson, B.H. Wilson, D.H. Kampbell, P.E. Haas, R.N. Miller, J.E. Hansen, F.H. Chapelle. 1998. Technical protocol for
evaluating natural attenuation of chlorinated solvents in groundwater. US Environmental Protection Agency, Cincinnatti, Ohio USA.
J.J. van der Waarde, M.H.A. van Eekert. 1999. Selection and validation of a practical protocol for anaerobic dechlorination. Phase 1: Inventory of methods and work visit Cornell University USA.
NOBIS-project 97-4-04, CUR/NOBIS Gouda
N.J.P. van Ras, J.J. van der Waarde, G. Schraa. 2001. Selection and validation of a practical protocol for anaerobic dechlorination. Phase 2: validation of selected parameters in batch experiments.
NOBIS-project 97-4-04, CUR/NOBIS Gouda
| Til Top | | Forside |
Version 1.0 Februar 2005 • © Miljøstyrelsen.
|